Yamaha Outboard Parts - Fuel Injection Pump - 225FETO (2000) | Flood Marine

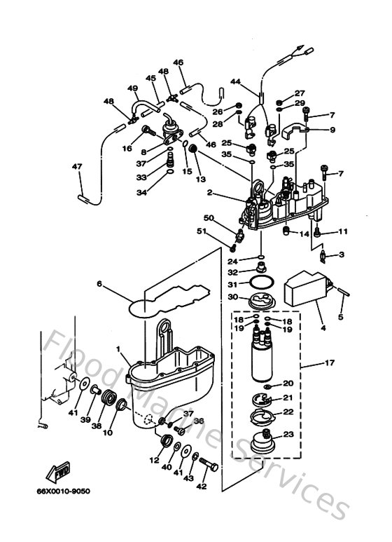
Diagram: Fuel Injection Pump

Diagram

Parts List

Reference
Description
Price