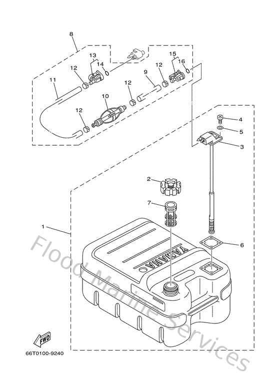
Yamaha Outboard Parts - Fuel Tank 2 - 30HMH (2001) | Flood Marine

Diagram: Fuel Tank 2

Diagram