Yamaha Outboard Parts - Generator - 40VMO (1997) | Flood Marine
New Search
Parts
New Outboards
Home
40VMO (1997)
Generator
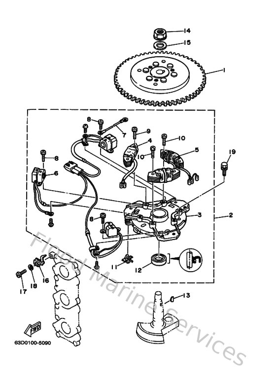
Diagram: Generator
Parts List
Reference
Description
Price
1
63D855500000
Rotor assembly
Loading…
↗
3
6H4153590494
Housing, oil seal
Loading…
↗
4
63D855200000
Coil, charge
Loading…
↗
5
63D855330000
Coil, lighting
Loading…
↗
6
63D855800000
Coil, pulser
Loading…
↗
7
6H4833540000
Wire, earth lead 1
Loading…
↗
8
63D813450000
Screw, pan
Loading…
↗
9
63D813451000
Screw, pan head (76t)
Loading…
↗
10
985170603000
Screw, pan
Loading…
↗
11
9046403M1500
Clamp(6j8)
Loading…
↗
12
931022309600
Oil seal (23x38x7-648)
Loading…
↗
13
6H4115450000
Key, woodruff
Loading…
↗
14
9017916M0500
Nut (689)
Loading…
↗
15
9020116M4400
Washer (689)
Loading…
↗
16
6H4813320000
Plate, timing
Loading…
↗
17
978850501000
Screw, pan head(62x)
Loading…
↗
18
929900560000
Washer, plain (646)
Loading…
↗
19
975130651800
Vis Hexagonal Avc Rondelle
Loading…
↗