Yamaha Outboard Parts - Generatrice - 15DEH (1995) | Flood Marine
New Search
Parts
New Outboards
Home
15DEH (1995)
Generatrice
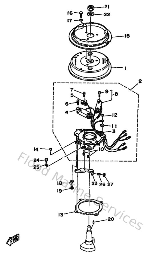
Diagram: Generatrice
Parts List
Reference
Description
Price
1
6E7855507000
Rotor ass'y
Loading…
↗
3
6E7855097000
Base, Magneto
Loading…
↗
4
6E7855207000
Coil assembly
Loading…
↗
5
6E7855807000
Pulser coil ass'y
Loading…
↗
6
901590503900
Screw panhead (695)
Loading…
↗
7
985070501600
Screw, pan head(jj6)
Loading…
↗
8
6E781303A000
Lighting coil ass'y
Loading…
↗
10
663855180000
Joint, ball
Loading…
↗
12
985010400600
Screw, pan head
Loading…
↗
13
682416130200
Plate, Base Friction
Loading…
↗
14
978900500800
Screw, with washer
Loading…
↗
15
6E7157230094
Pully, starter
Loading…
↗
16
970130601200
Bolt(gh1)
Loading…
↗
17
929900660000
Washer, plain (646)
Loading…
↗
19
970950501000
Bolt (682)
Loading…
↗
20
902801605300
Key, woodruff
Loading…
↗
21
901701206600
Nut, hexagon 6481155500
Loading…
↗
22
902011247200
Washer, plate (4n0)
Loading…
↗
23
6E8412130094
Cam, Accel
Loading…
↗
25
929900560000
Washer, plain (646)
Loading…
↗
27
953800570000
Nut (656)
Loading…
↗