Yamaha Outboard Parts - Intake - 140BETOL (1988) | Flood Marine
New Search
Parts
New Outboards
Home
140BETOL (1988)
Intake
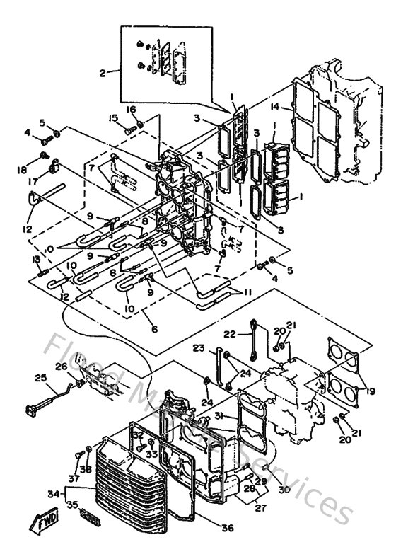
Diagram: Intake
Parts List
Reference
Description
Price
1
6E5136100000
Reed valve assembly
Loading…
↗
2
6E5W00040000
Reed set
Loading…
↗
3
6E5136210000
Gasket, valve seat
Loading…
↗
4
985030502500
Screw, panhead (a93)
Loading…
↗
5
929900560000
Washer, plain (646)
Loading…
↗
6
6E513641111S
Manifold 1
Loading…
↗
7
6E5135520000
Nozzle
Loading…
↗
8
624144850000
Pipe, joint
Loading…
↗
9
6E5113700000
Check valve assembly
Loading…
↗
10
9044507MA300
Hose (l200)
Loading…
↗
11
9044507M2400
Hose (l390)
Loading…
↗
12
9044507M4600
Hose (l390)
Loading…
↗
13
9011606M3000
Bolt, stud(6e5)
Loading…
↗
14
6E5136450000
Gasket, manifold 1
Loading…
↗
15
9010106M2700
Bolt
Loading…
↗
16
929900660000
Washer, plain (646)
Loading…
↗
17
904650802800
Clamp (1e6)
Loading…
↗
18
973130601200
Bolt(gh1)
Loading…
↗
19
6E514198A200
Gasket
Loading…
↗
20
953030660000
Nut(661)
Loading…
↗
21
929900610000
Washer(6a1)
Loading…
↗
23
6E5412560000
Rod, choke 1
Loading…
↗
24
661412620200
Joint, choke lever
Loading…
↗
25
6E5412710100
Knob, choke
Loading…
↗
27
6E5144171094
Cover 1
Loading…
↗
29
6E5144850000
Pipe, joint
Loading…
↗
30
9044507MF100
Hose (l570)
Loading…
↗
31
6E5144830100
Gasket
Loading…
↗
32
973130602000
Bolt(7u8)
Loading…
↗
34
6E5Y106P0000
Cover 2
Loading…
↗
35
6E51441K0000
Emblem 1
Loading…
↗
36
6E5144160000
Gasket, air cleaner
Loading…
↗
38
929900620000
Ybs66-6 washer, plain
Loading…
↗