Yamaha Outboard Parts - Intake - 15DEH (1995) | Flood Marine
New Search
Parts
New Outboards
Home
15DEH (1995)
Intake
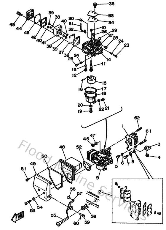
Diagram: Intake
Parts List
Reference
Description
Price
1
6E8136100100
Reed valve assembly
Loading…
↗
2
682W00040000
Reed set
Loading…
↗
3
6E7136250000
Spacer, Reed Valve
Loading…
↗
4
6E7135880100
Nut
Loading…
↗
5
970130601200
Bolt(gh1)
Loading…
↗
6
929900660000
Washer, plain (646)
Loading…
↗
7
970950601600
Bolt, hexagon deep recess
Loading…
↗
10
6E7143422900
Jet, Pilot (# 58)
Loading…
↗
11
6E8143410000
Nozzle Main
Loading…
↗
12
6E8143901200
Needle valve assembly
Loading…
↗
13
367141950000
Washer, valve seat
Loading…
↗
14
367143960000
Pipe, over flow
Loading…
↗
15
6E7143850000
Float
Loading…
↗
16
647143861000
Pin, float
Loading…
↗
17
677143840100
Gasket, float chamber
Loading…
↗
18
6E7143810000
Body, float chamber
Loading…
↗
19
677143435200
Jet Main (#104)
Loading…
↗
20
1J2143980000
Packing
Loading…
↗
22
655143980000
Gasket
Loading…
↗
23
647143230000
Screw, air adjusting
Loading…
↗
24
646142120100
Spring, pilot adjusting
Loading…
↗
25
664143210100
Screw, throttle
Loading…
↗
26
647143260000
Screw, guide
Loading…
↗
27
682412100000
Axle arm assembly (carb.)
Loading…
↗
28
677143270100
Screw
Loading…
↗
29
682412910000
Bushing
Loading…
↗
30
677412260000
End, throttle lever (carb)
Loading…
↗
32
661412620200
Joint, choke lever
Loading…
↗
34
6E7142270000
Packing
Loading…
↗
35
979800410800
Screw, with washer(6m6)
Loading…
↗
36
677244340200
Gasket, pump 1
Loading…
↗
37
677244110200
Diaphragm
Loading…
↗
38
6A0244210100
Valve, check
Loading…
↗
39
6E7143250000
Screw, pan head
Loading…
↗
40
953800360000
Nut (6g8)
Loading…
↗
41
682244120000
Body, pump
Loading…
↗
42
677244350200
Gasket, body 2
Loading…
↗
43
677244710100
Diaphragm (carb.)
Loading…
↗
44
677244130100
Cover (carb.)
Loading…
↗
45
677244440100
Screw
Loading…
↗
46
953800670000
Nut
Loading…
↗
48
682144170200
Cover 1
Loading…
↗
49
682144180100
Cover 2
Loading…
↗
50
68214416A000
Gasket, Air Cleaner
Loading…
↗
51
977805051400
Screw, panhead tapping (682)
Loading…
↗
52
68214483A000
Gasket
Loading…
↗
53
985800553000
Ybs86-530 screw,panhead
Loading…
↗
54
929900560000
Washer, plain (646)
Loading…
↗
55
682412710100
Knob, choke
Loading…
↗
56
682412730000
Grommet
Loading…
↗
57
682412520100
Lever, Choke 1
Loading…
↗
58
682412670000
Bushing, Joint
Loading…
↗
59
682412630000
Pin, Chokelever
Loading…
↗
60
904681000500
Pin, hair 6264123500
Loading…
↗
61
901160613000
Bolt, stud
Loading…
↗
62
9011606M0400
Bolt, stud (682)
Loading…
↗