Yamaha Outboard Parts - Intake - 5CMH (1990) | Flood Marine
New Search
Parts
New Outboards
Home
5CMH (1990)
Intake
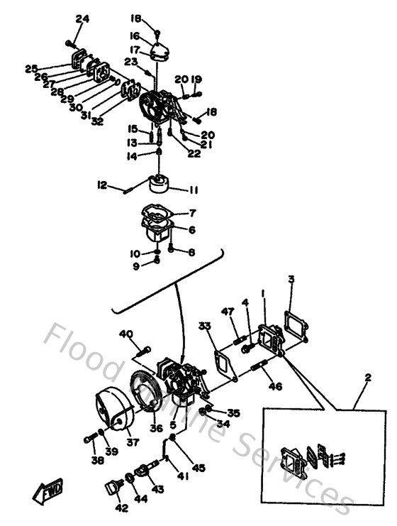
Diagram: Intake
Parts List
Reference
Description
Price
1
6E0136100000
Reed valve assembly
Loading…
↗
2
6E0W00040000
Reed set
Loading…
↗
3
6E0136210000
Gasket, valve seat
Loading…
↗
4
9010506M1400
Bolt (6e0)
Loading…
↗
5
6E3143010500
Carburetor assembly 1
Loading…
↗
6
6E0143810100
Float chamber assembly
Loading…
↗
7
6E0143840000
Gasket, float chamber
Loading…
↗
8
976030411600
Screw, pan head with washer
Loading…
↗
9
677143830100
Screw, drain
Loading…
↗
10
6A1143980000
Gasket
Loading…
↗
11
6E7143850000
Float
Loading…
↗
12
647143860000
Pin, float
Loading…
↗
13
6E3143410200
Nozzle, main
Loading…
↗
14
648143434000
Jet, main (#80)
Loading…
↗
15
6E0143920000
Valve, needle
Loading…
↗
16
6E0141570000
Cover, plate
Loading…
↗
17
6E0142270000
Gasket
Loading…
↗
18
985800400800
Screw, pan head (713)
Loading…
↗
19
647143230000
Screw, air adjusting
Loading…
↗
20
646142120100
Spring, pilot adjusting
Loading…
↗
21
985030401400
Screw, pan head(ga5)
Loading…
↗
22
648143422600
Jet, pilot (#52)
Loading…
↗
23
647143260000
Screw, guide
Loading…
↗
24
985800402000
Screw, pan head (7h3)
Loading…
↗
25
6E0244130000
Cover, pump
Loading…
↗
26
6E0244710000
Diaphragm
Loading…
↗
27
6E0244350000
Gasket, cover pump
Loading…
↗
28
6E0244120000
Body, pump
Loading…
↗
29
6E0244230000
Spring
Loading…
↗
30
6E0143460000
Plate
Loading…
↗
31
6E0244110000
Diaphragm
Loading…
↗
33
6E0141980000
Gasket
Loading…
↗
34
953800670000
Nut
Loading…
↗
35
929900660000
Washer, plain (646)
Loading…
↗
36
6E0144170000
Cover 1
Loading…
↗
37
6E0144180000
Cover 2
Loading…
↗
38
985800502500
Screw, panhead (a93)
Loading…
↗
39
929900560000
Washer, plain (646)
Loading…
↗
42
6E0412710000
Knob, choke
Loading…
↗
43
6E0412720000
Knob, choke 2
Loading…
↗
44
9020212M1600
Washer, plate (6e0)
Loading…
↗
45
661412620200
Joint, choke lever
Loading…
↗
46
956210632500
Bolt, stud(6e0)
Loading…
↗
47
9011606M0800
Bolt, stud (689)
Loading…
↗