Yamaha Outboard Parts - Intake - 80AETOL (1989) | Flood Marine
New Search
Parts
New Outboards
Home
80AETOL (1989)
Intake
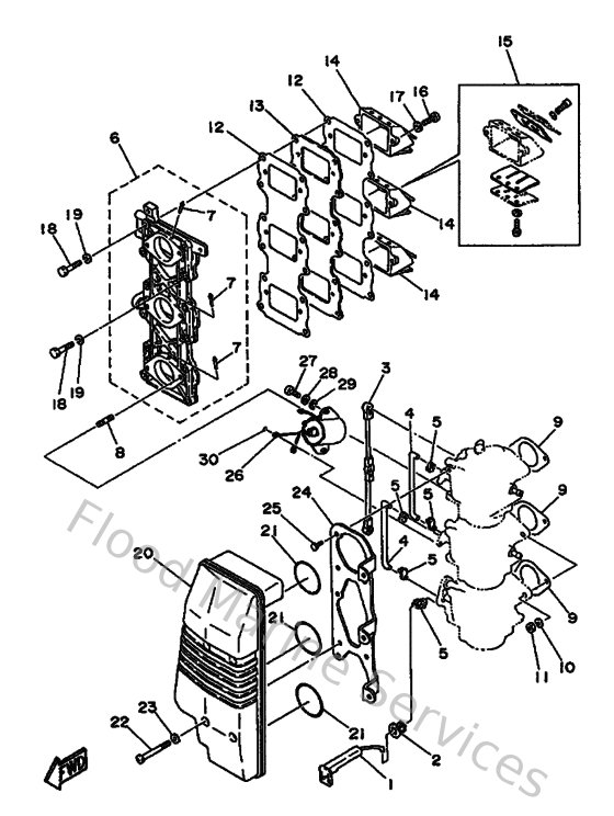
Diagram: Intake
Parts List
Reference
Description
Price
1
692412560000
Rod, choke 1
Loading…
↗
3
688412170000
Rod, accel. lever
Loading…
↗
4
688412570100
Rod, choke 2
Loading…
↗
5
661412620200
Joint, choke lever
Loading…
↗
7
6H1144850000
Pipe, joint
Loading…
↗
8
901160612200
Bolt, stud(6e5)
Loading…
↗
9
68814198A200
Gasket
Loading…
↗
10
929900610000
Washer(6a1)
Loading…
↗
11
953030660000
Nut(661)
Loading…
↗
12
688136210000
Gasket, valve seat
Loading…
↗
13
688136240000
Plate, reed valve
Loading…
↗
14
688136100000
Reed valve assembly
Loading…
↗
15
688W00040000
Reed set
Loading…
↗
16
985800502000
Screw, pan head (e22)
Loading…
↗
17
929900510000
Ybs67-5 washer, spring
Loading…
↗
18
973130603000
Bolt
Loading…
↗
19
970800603000
Bolt(jf7)
Loading…
↗
20
6H1144400000
Silencer assembly
Loading…
↗
21
932104604400
O-ring
Loading…
↗
22
985800655500
Screw, panhed (gc2)
Loading…
↗
23
9020906M0500
Washer (688)
Loading…
↗
25
970130601200
Bolt(gh1)
Loading…
↗
26
688861100100
Solenoid
Loading…
↗
27
925030601500
Screw, pan
Loading…
↗
29
929900620000
Ybs66-6 washer, plain
Loading…
↗
30
932100326100
O-ring (663)
Loading…
↗