Yamaha Outboard Parts - Intake - 85AET (1998) | Flood Marine
New Search
Parts
New Outboards
Home
85AET (1998)
Intake
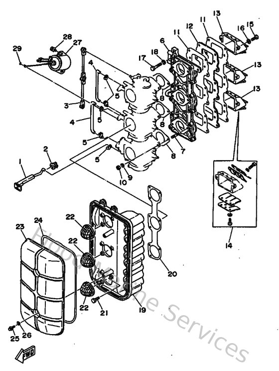
Diagram: Intake
Parts List
Reference
Description
Price
1
692412560000
Rod, choke 1
Loading…
↗
2
689412730000
Grommet
Loading…
↗
3
688412170100
Rod, accel. lever
Loading…
↗
4
688412570100
Rod, choke 2
Loading…
↗
5
661412620200
Joint, choke lever
Loading…
↗
6
688136410094
Intake, manifold 1
Loading…
↗
7
9011606M3000
Bolt, stud(6e5)
Loading…
↗
8
68814198A200
Gasket
Loading…
↗
9
929950610000
Washer(6a1)
Loading…
↗
10
953800660000
Nut(661)
Loading…
↗
11
68813621A100
Gasket, valve seat
Loading…
↗
12
688136240000
Plate, reed valve
Loading…
↗
13
688136100000
Reed valve assembly
Loading…
↗
14
688W00040000
Reed set
Loading…
↗
15
978850502000
Screw, pan head (e22)
Loading…
↗
16
929900510000
Ybs67-5 washer, spring
Loading…
↗
17
970950603000
Bolt(jf7)
Loading…
↗
19
688144170100
Cover 1
Loading…
↗
20
68814483A000
Gasket
Loading…
↗
21
973130601800
Bolt, hexagon
Loading…
↗
22
688144810000
Cap, carburetor
Loading…
↗
23
688144180100
Cover 2
Loading…
↗
24
688144160100
Gasket, air cleaner
Loading…
↗
25
978850601600
Screw, pan head(6b0)
Loading…
↗
26
9020906M0500
Washer (688)
Loading…
↗
27
688861100100
Solenoid
Loading…
↗
28
9015906M1900
Screw, with washer(688)
Loading…
↗
29
932100326100
O-ring (663)
Loading…
↗