Yamaha Outboard Parts - Intake - Z150PETOL (2000) | Flood Marine
New Search
Parts
New Outboards
Home
Z150PETOL (2000)
Intake
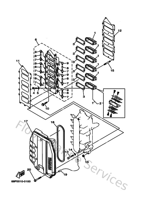
Diagram: Intake
Parts List
Reference
Description
Price
1
68H136100000
Reed valve assembly
Loading…
↗
2
65JW00040100
Reed set
Loading…
↗
3
61A13621A000
Gasket, valve seat
Loading…
↗
4
978800501600
Screw, pan head(6b0)
Loading…
↗
5
929900560000
Washer, plain (646)
Loading…
↗
6
68F13624001S
Plate,reed valve
Loading…
↗
7
6F6113720000
Nipple, hose
Loading…
↗
8
9044507M0300
Hose (l200)
Loading…
↗
9
650113700000
Check valve assembly
Loading…
↗
10
9011906MA400
Bolt, with washer
Loading…
↗
11
65L136460000
Gasket, manifold 2
Loading…
↗
12
65L136450000
Gasket, manifold 1
Loading…
↗
13
970130606000
Bolt, hexagon
Loading…
↗
14
929030660000
Washer, plain (646)
Loading…
↗
15
956700666000
Bolt, stud
Loading…
↗
16
9017906M2400
Nut(6j8)
Loading…
↗
17
67H144400000
Silencer assembly Intake
Loading…
↗
18
65L144830000
Gasket
Loading…
↗
19
9044507M4400
Hose (l390)
Loading…
↗
20
9015906M1600
Screw, with washer(61a)
Loading…
↗