Yamaha Outboard Parts - Intake 1 - 90AETOL (1987) | Flood Marine
New Search
Parts
New Outboards
Home
90AETOL (1987)
Intake 1
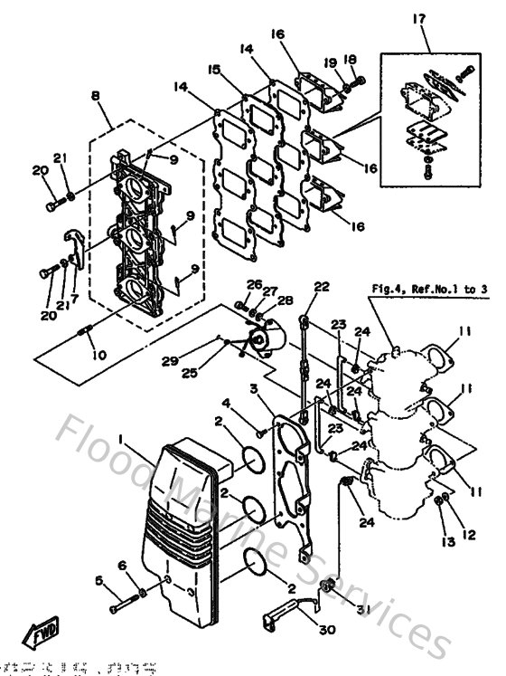
Diagram: Intake 1
Parts List
Reference
Description
Price
1
6H1144400000
Silencer assembly
Loading…
↗
2
932104604400
O-ring
Loading…
↗
4
973130601200
Bolt(gh1)
Loading…
↗
5
985800655500
Screw, panhed (gc2)
Loading…
↗
6
9020906M0500
Washer (688)
Loading…
↗
7
6H1217970000
Hinge
Loading…
↗
9
6H1144850000
Pipe, joint
Loading…
↗
10
9011606M3000
Bolt, stud(6e5)
Loading…
↗
11
688141980000
Gasket
Loading…
↗
12
929030610000
Washer(6a1)
Loading…
↗
13
953800660000
Nut(661)
Loading…
↗
14
688136210000
Gasket, valve seat
Loading…
↗
15
688136240000
Plate, reed valve
Loading…
↗
16
688136100000
Reed valve assembly
Loading…
↗
17
688W00040000
Reed set
Loading…
↗
18
978850502000
Screw, pan head (e22)
Loading…
↗
19
929030510000
Ybs67-5 washer, spring
Loading…
↗
20
973130603000
Bolt
Loading…
↗
21
929950610000
Washer(6a1)
Loading…
↗
22
688412170000
Rod, accel. lever
Loading…
↗
23
688412570000
Rod, choke 2
Loading…
↗
24
661412620200
Joint, choke lever
Loading…
↗
25
688861100100
Solenoid
Loading…
↗
26
978030601400
Screw, pan
Loading…
↗
28
929900620000
Ybs66-6 washer, plain
Loading…
↗
29
932100326100
O-ring (663)
Loading…
↗
30
692412560000
Rod, choke 1
Loading…
↗
31
689412730000
Grommet
Loading…
↗