Yamaha Outboard Parts - Intake 2 (200/L200:SWS) - 150FETOL (1997) | Flood Marine
New Search
Parts
New Outboards
Home
150FETOL (1997)
Intake 2 (200/L200:SWS)
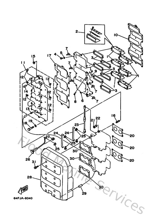
Diagram: Intake 2 (200/L200:SWS)
Parts List
Reference
Description
Price
1
6K7136100000
Reed valve assembly
Loading…
↗
2
6E5W00040000
Reed set
Loading…
↗
3
6K713621A100
Gasket, valve seat
Loading…
↗
4
985800501600
Screw, pan head(6b0)
Loading…
↗
5
929900560000
Washer, plain (646)
Loading…
↗
6
64E136240094
Plate,reed Valve
Loading…
↗
7
6H4113720100
Nipple, hose
Loading…
↗
8
6R5144850000
Pipe, joint
Loading…
↗
9
9033608M0600
Plug, Taper(64F)
Loading…
↗
10
6K713646A200
Gasket, manifold 2
Loading…
↗
11
64E136410094
Manifold, Intake 1
Loading…
↗
12
6E5135520000
Nozzle
Loading…
↗
13
624144850000
Pipe, joint
Loading…
↗
14
6K7813380100
Stay
Loading…
↗
15
9048010M2800
Grommet(6k7)
Loading…
↗
16
9011606M3000
Bolt, stud(6e5)
Loading…
↗
17
64E13645A000
Gasket, manifold 1
Loading…
↗
18
970130605000
Bolt, hexagon
Loading…
↗
19
929900660000
Washer, plain (646)
Loading…
↗
20
6E514198A200
Gasket
Loading…
↗
21
953800660000
Nut(661)
Loading…
↗
22
929950610000
Washer(6a1)
Loading…
↗
23
6G5412170100
Rod, accel. lever
Loading…
↗
24
6E5412560100
Rod, choke 1
Loading…
↗
25
661412620200
Joint, choke lever
Loading…
↗
26
61H412711000
Knob, choke
Loading…
↗
27
689412730000
Grommet
Loading…
↗
28
64D144400000
Silencer assembly, Intake
Loading…
↗
29
9044507MA300
Hose (l200)
Loading…
↗
30
6K7144830000
Gasket
Loading…
↗
31
9015906M0800
Screw, with washer(6k7)
Loading…
↗