Yamaha Outboard Parts - Lower & Drive 2 (COUNTER ROTATION) - 175AETOL (1996) | Flood Marine
New Search
Parts
New Outboards
Home
175AETOL (1996)
Lower & Drive 2 (COUNTER ROTATION)
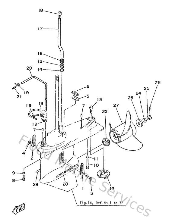
Diagram: Lower & Drive 2 (COUNTER ROTATION)
Parts List
Reference
Description
Price
1
6G5452140000
Cover, Water Inlet
Loading…
↗
2
6G5452150000
Cover, Water Inlet
Loading…
↗
3
9014205M0300
Screw, countersunk
Loading…
↗
4
901850590400
Nut nylon (sus)(ex4)
Loading…
↗
5
663453760094
Guide, seal damper
Loading…
↗
6
688453750000
Damper, seal 2
Loading…
↗
7
9360812M0500
Pin, dowel b (6e5)
Loading…
↗
8
970951004500
Bolt(64d)
Loading…
↗
9
929901010000
Ybs67-10 washer, spring
Loading…
↗
10
973751007000
Bolt, hexagon
Loading…
↗
12
6K1453710000
Tab-trim
Loading…
↗
13
9010510M0000
Bolt, hexagon (663)
Loading…
↗
14
6E5443650000
Damper, water seal 1
Loading…
↗
15
6E5443120000
Cover, water pump housing
Loading…
↗
16
6E5443660000
Damper, water seal 2
Loading…
↗
17
6E5443612000
Tube, water
Loading…
↗
19
9046511M1000
Clamp
Loading…
↗
20
9044507M2100
Hose (l1160)
Loading…
↗
21
6E5835580000
End, nipple
Loading…
↗
22
6E5459870000
Spacer 1
Loading…
↗
23
688459970100
Spacer 2
Loading…
↗
24
929901820000
Washer (6e5)
Loading…
↗
25
9017118M0400
Nut, castle (6e5)
Loading…
↗
26
914904003000
Pin, cotter (663)
Loading…
↗
27
6K1459780098
Propeller (3x13-3/4"x17"-ml1)
Loading…
↗