Yamaha Outboard Parts - Lower Casing & Drive 1 - 3AMH (1989) | Flood Marine
New Search
Parts
New Outboards
Home
3AMH (1989)
Lower Casing & Drive 1
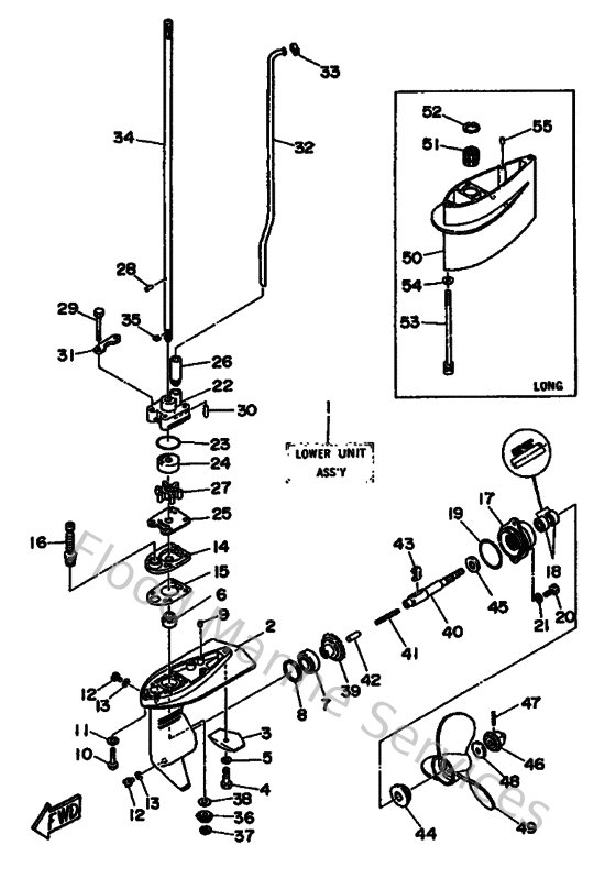
Diagram: Lower Casing & Drive 1
Parts List
Reference
Description
Price
3
6L5452510100
Anode
Loading…
↗
4
973950603000
Bolt(jf7)
Loading…
↗
5
929900660000
Washer, plain (646)
Loading…
↗
6
9310309M4100
Oil seal
Loading…
↗
7
93316003U000
Bearing, cylindrical(6l5)
Loading…
↗
8
6L5455670000
Shim
Loading…
↗
9
9360410M0300
Pin, dowel (688)
Loading…
↗
10
970800603000
Bolt(jf7)
Loading…
↗
12
9034008M0400
Plug, straight screw
Loading…
↗
13
904300802000
Gasket
Loading…
↗
14
6L54532100EJ
Plate
Loading…
↗
15
6L545315A000
Packing,l0wer casing
Loading…
↗
16
6L2441470000
Boot, shift rod
Loading…
↗
17
6L54536100EJ
Cap, lower casing
Loading…
↗
18
931011380000
Oil seal
Loading…
↗
19
932104821400
O-ring
Loading…
↗
20
973950601600
Bolt, hexagon deep recess
Loading…
↗
22
6L5443110000
Housing, water pump
Loading…
↗
23
9321033M8500
O-ring(6l5)
Loading…
↗
24
6L5443220000
Insert, cartridge
Loading…
↗
25
6L5443230000
Outer plate, cartridge
Loading…
↗
26
6E0443660000
Damper, water seal 2
Loading…
↗
27
6L5443520000
Impeller
Loading…
↗
28
9360407M1300
Pin, dowel(6l5)
Loading…
↗
29
973950604000
Bolt (682)
Loading…
↗
30
936041808000
Pin. dowel. (647)
Loading…
↗
31
6L5443280000
Plate
Loading…
↗
32
6L5443610000
Water tube assembly
Loading…
↗
33
646443650000
Damper, water seal 1
Loading…
↗
34
6L5455111000
Shaft, Drive
Loading…
↗
35
9046707M1200
Clip(6l5)
Loading…
↗
36
6L5455510000
Pinion
Loading…
↗
37
990010660000
Circlip(53l)
Loading…
↗
38
6L5455333000
Shim (t:2.3mm)
Loading…
↗
39
6L5455600000
Gear
Loading…
↗
40
6L5456110000
Shaft, propeller
Loading…
↗
41
905011006400
Spring, compression 6164563600
Loading…
↗
42
6EGG56350000
Plunger, shift
Loading…
↗
43
6L5456310000
Clutch, dog
Loading…
↗
44
6L5459870000
Spacer 1
Loading…
↗
45
902011319800
Washer 6474556600
Loading…
↗
46
6EEG56160000
Nut, propeller
Loading…
↗
47
914902503000
Pin, cotter(6l5)
Loading…
↗
48
9020108M5400
Washer, plate (6e5)
Loading…
↗
49
6L5459470000
Propeller (3x7-1/4"x8-1/4"-bs)
Loading…
↗
51
6L5453180000
Bushing, drive shaft
Loading…
↗
52
9342022M0300
Cir clip (6e0)
Loading…
↗
53
9010106M1800
Bolt(6l5)
Loading…
↗