Yamaha Outboard Parts - Lower Casing & Drive 1 - 6DMH (2001) | Flood Marine
New Search
Parts
New Outboards
Home
6DMH (2001)
Lower Casing & Drive 1
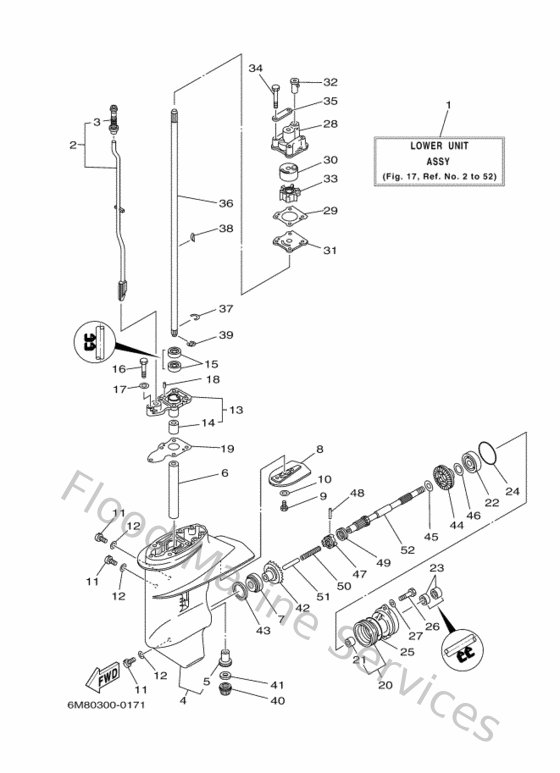
Diagram: Lower Casing & Drive 1
Parts List
Reference
Description
Price
1
6M8G5300004D
Lower unit assembly
Loading…
↗
2
6N0G41502000
Shift Cam assembly
Loading…
↗
3
6G1441470000
Boot, shift rod
Loading…
↗
4
6N0G5311004D
Casing, lower
Loading…
↗
5
6G1453170900
Bushing, drive shaft 2
Loading…
↗
6
9038714M4900
Collar (6g1)
Loading…
↗
7
93332000U400
Brg,tapered roller 42mm (689)
Loading…
↗
8
6N0G52510000
Anode
Loading…
↗
9
970950601600
Bolt, hexagon deep recess
Loading…
↗
10
929900630000
Washer, tooth
Loading…
↗
11
9034008M0400
Plug, straight screw
Loading…
↗
12
904300802000
Gasket
Loading…
↗
13
6G14533101CA
Housing, bearing 1
Loading…
↗
14
6G1453160900
Bushing, drive shaft 1
Loading…
↗
15
9310111M2300
Oil seal (6g1)
Loading…
↗
16
970950603000
Bolt(jf7)
Loading…
↗
17
929900660000
Washer, plain (646)
Loading…
↗
18
936040806200
Pin,dowel (626)
Loading…
↗
19
6G145315A000
Packing, lower casing
Loading…
↗
20
6N0G5361004D
Cap, lower casing
Loading…
↗
21
6G1453620900
Bushing, lower casing cap
Loading…
↗
22
933060042300
Bearing (7k2)
Loading…
↗
23
931011507400
Oil seal (655)
Loading…
↗
24
932104904600
O-ring (620)
Loading…
↗
25
9321053M0800
O-ring(50m)
Loading…
↗
27
929950660000
Washer, plain (646)
Loading…
↗
28
6N0G43110000
Housing, water pump
Loading…
↗
29
6G144315A000
Gasket,water pump
Loading…
↗
30
6G1443220000
Insert, cartridge
Loading…
↗
31
6G1443230000
Outer plate, cartridge
Loading…
↗
32
647443660000
Damper, water seal 2
Loading…
↗
33
6G1443520000
Impeller
Loading…
↗
34
970950604500
Bolt, hexagon
Loading…
↗
35
6G1443280000
Plate
Loading…
↗
36
6N0G55111000
Shaft, drive
Loading…
↗
37
9046709M0500
Clip (6g1)
Loading…
↗
38
902800302400
Key, woodruff(662)
Loading…
↗
39
990010660000
Circlip(53l)
Loading…
↗
40
6N0G55510000
Pinion
Loading…
↗
41
6G1455333000
Shim (t:2.2mm)
Loading…
↗
42
6GH455600900
Gear 1 (27t)
Loading…
↗
43
664455876000
Shim (t:0.50mm)
Loading…
↗
44
6N0G55710000
Gear 2
Loading…
↗
45
9020115M8900
Washer, plate (6g1)
Loading…
↗
46
647455670000
Shim, gear adjust
Loading…
↗
47
6G1456310000
Clutch, dog
Loading…
↗
48
6G1456320000
Cross, pin
Loading…
↗
49
654456330000
Ring, cross pin
Loading…
↗
50
9050112M3800
Spring, compression(6g1)
Loading…
↗
51
6G1456350000
Plunger, shift
Loading…
↗
52
6G1456110100
Shaft, propellar
Loading…
↗