Yamaha Outboard Parts - Lower Casing & Drive 2 - FT9.9AMH (1985) | Flood Marine
New Search
Parts
New Outboards
Home
FT9.9AMH (1985)
Lower Casing & Drive 2
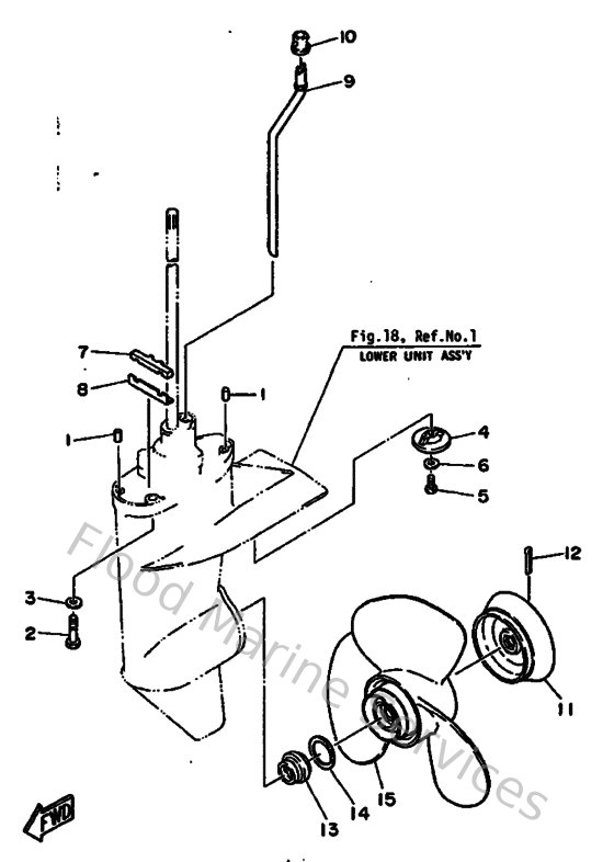
Diagram: Lower Casing & Drive 2
Parts List
Reference
Description
Price
1
936061201900
Pin, dowel (614)
Loading…
↗
2
973750803500
Bolt(70w)
Loading…
↗
3
929900860000
Washer, plain (663)
Loading…
↗
4
6E8452510200
Anode
Loading…
↗
5
973950601600
Bolt, hexagon deep recess
Loading…
↗
6
929900660000
Washer, plain (646)
Loading…
↗
7
682453750100
Damper, seal
Loading…
↗
8
682453760100
Guide, seal damper
Loading…
↗
9
6G8443612000
Tube Water
Loading…
↗
10
626443650100
Damper, water seal 1
Loading…
↗
11
6G8456160000
Deflector ring assembly (6g8)
Loading…
↗
12
914903002500
Pin cotter
Loading…
↗
13
6G8459870100
Spacer 1
Loading…
↗
14
9020131MA300
Washer, plate (6g8)
Loading…
↗
15
6G8459410000
Propeller (pa 3x11-3/4"x11"-r)
Loading…
↗