Yamaha Outboard Parts - Lower Casing & Drive 3 - F50AE (1998) | Flood Marine
New Search
Parts
New Outboards
Home
F50AE (1998)
Lower Casing & Drive 3
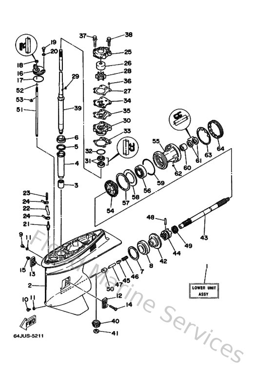
Diagram: Lower Casing & Drive 3
Parts List
Reference
Description
Price
1
64J45300114D
Lower Unit Assembly
Loading…
↗
2
6H145301134D
Casing, Lower
Loading…
↗
3
93315325V100
Bearing, needle (688)
Loading…
↗
4
688455360100
Sleeve, drive shaft
Loading…
↗
5
688455870130
Shim (t:0.30mm)
Loading…
↗
6
93332000U300
Brg,tapered roller 50mm (688)
Loading…
↗
7
688455676000
Shim (t:0.50mm)
Loading…
↗
8
93332000W700
Bearing(6b0)
Loading…
↗
9
9034008M0400
Plug, straight screw
Loading…
↗
10
688453410000
Plug, drain
Loading…
↗
11
904300802000
Gasket
Loading…
↗
12
6H1452140000
Cover, water inlet
Loading…
↗
13
6H1452150000
Cover, water inlet
Loading…
↗
14
9015105M0000
Screw, countersunk(692)
Loading…
↗
15
901850590400
Nut nylon (sus)(ex4)
Loading…
↗
16
688453210000
Plate
Loading…
↗
17
932104904600
O-ring (620)
Loading…
↗
18
931060901400
Oil seal
Loading…
↗
19
970950601600
Bolt, hexagon deep recess
Loading…
↗
20
929900660000
Washer, plain (646)
Loading…
↗
21
6E5453780000
Nipple, hose
Loading…
↗
22
9044507M3100
Hose (l200)
Loading…
↗
23
6E5835581000
End, nipple
Loading…
↗
24
9046511M1000
Clamp
Loading…
↗
25
6H3443110000
Housing, water pump 1
Loading…
↗
26
663443220000
Insert, cartridge
Loading…
↗
27
6H344315A000
Gasket,water pump 1
Loading…
↗
28
6H3443520000
Impellar
Loading…
↗
29
9028003M0300
Key, woodruff (697)
Loading…
↗
30
6H3443410094
Housing, water pump set
Loading…
↗
31
931012307000
Oil seal (663)
Loading…
↗
32
932104604400
O-ring
Loading…
↗
33
68844316A000
Gasket,water pump 2
Loading…
↗
34
6H3443230000
Outer plate, cartridge
Loading…
↗
35
6H344324A000
Gasket,cartridge 0ut,plate
Loading…
↗
36
9360410M0300
Pin, dowel (688)
Loading…
↗
37
9011908M3300
Bolt, with washer(6b0)
Loading…
↗
38
9011908M1400
Bolt, with washer
Loading…
↗
39
64J455011100
Drive Shaft Comp
Loading…
↗
40
6K5455510000
Pinion
Loading…
↗
41
9017016M0100
Nut, hexagon (688)
Loading…
↗
42
6K5455600000
Gear
Loading…
↗
43
688456110100
Shaft, propeller
Loading…
↗
44
688456310100
Clutch, dog
Loading…
↗
45
688456340000
Slide, shift
Loading…
↗
46
905011623300
Spring compression(663)
Loading…
↗
47
688456350000
Plunger, shift
Loading…
↗
48
9025007M0200
Pin, straight (688)
Loading…
↗
49
688456330000
Ping, cross pin
Loading…
↗
50
663441510000
Cam, shift
Loading…
↗
51
6K5441440000
Rod, shift
Loading…
↗
52
932100754000
O-ring (11m)
Loading…
↗
53
990010860000
Circlip(2r6)
Loading…
↗
54
6K5455710000
Gear
Loading…
↗
55
688453310094
Housing, bearing
Loading…
↗
56
93306207U000
Brg,r-b 6207 72mm 280g (688)
Loading…
↗
57
688455770130
Shim (t:0.30mm)
Loading…
↗
58
688455760000
Washer, thrust 2
Loading…
↗
59
9321085M9700
O-ring(6h1)
Loading…
↗
60
93317325U000
Brg,needle
Loading…
↗
61
9310125M0300
Oil seal
Loading…
↗
62
902820401000
Key, strait(663)
Loading…
↗
63
688453830200
Washer, claw
Loading…
↗
64
688453840000
Nut
Loading…
↗