Yamaha Outboard Parts - Lower Casing. Drive 2 - 250BETOXL (1998) | Flood Marine
New Search
Parts
New Outboards
Home
250BETOXL (1998)
Lower Casing. Drive 2
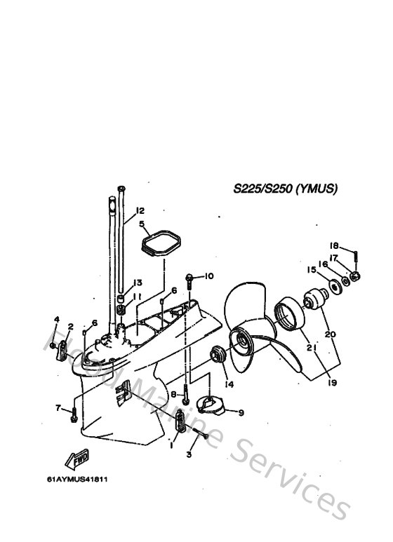
Diagram: Lower Casing. Drive 2
Parts List
Reference
Description
Price
1
61A452140000
Cover, water inlet
Loading…
↗
2
61A452150000
Cover, water inlet
Loading…
↗
3
9014205M0400
Screw, countersunk
Loading…
↗
4
901850590400
Nut nylon (sus)(ex4)
Loading…
↗
5
61A453750000
Damper, seal
Loading…
↗
6
9360812M0500
Pin, dowel b (6e5)
Loading…
↗
7
970751004500
Bolt(64d)
Loading…
↗
8
9011910MA200
Bolt, with washer
Loading…
↗
9
61A453710000
Anode
Loading…
↗
10
9010510M0000
Bolt, hexagon (663)
Loading…
↗
11
6E5443660000
Damper, water seal 2
Loading…
↗
12
61A443612000
Tube, water
Loading…
↗
13
6E5443650000
Damper, water seal 1
Loading…
↗
14
6E5459870100
Spacer 1
Loading…
↗
15
688459970100
Spacer 2
Loading…
↗
16
929901820000
Washer (6e5)
Loading…
↗
17
9017118M0400
Nut, castle (6e5)
Loading…
↗
18
914904003000
Pin, cotter (663)
Loading…
↗
19
61A459780098
Propeller (3x15"x17"-t)
Loading…
↗
20
6G5459810000
Damper Rubber, Propeller
Loading…
↗
21
6G5459860094
Reflector Ring
Loading…
↗
14
63P459870000
Spacer 1
Loading…
↗