Yamaha Outboard Parts - Magneto - 175AETOL (1985) | Flood Marine
New Search
Parts
New Outboards
Home
175AETOL (1985)
Magneto
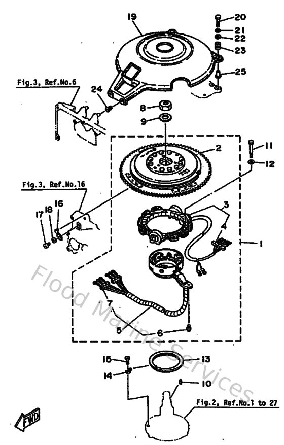
Diagram: Magneto
Parts List
Reference
Description
Price
3
6G5855101000
Stator Assembly
Loading…
↗
4
9048006M1600
Grommet
Loading…
↗
5
6G5855801100
Pulser Assembly (6G5-85580-10)
Loading…
↗
6
663855180000
Joint, ball
Loading…
↗
8
901702013700
Nut, hexagon(663)
Loading…
↗
9
9020121M1800
Washer, plate (663)
Loading…
↗
10
902800504900
Key, woodruff (12r)
Loading…
↗
11
973130605500
Bolt, hexagon w/w deep recess
Loading…
↗
12
929030660000
Washer, plain (646)
Loading…
↗
13
688416110000
Retainer, magneto base 1
Loading…
↗
14
688416120000
Retainer, magneto base 2
Loading…
↗
15
978800601800
Screw, pan head(6e5)
Loading…
↗
16
6E5813320000
Plate, timing
Loading…
↗
17
978030601000
Screw pan head
Loading…
↗
19
6E5813370000
Cover, flywheel
Loading…
↗
20
970800603000
Bolt(jf7)
Loading…
↗
21
929030610000
Washer(6a1)
Loading…
↗
22
9020106M6200
Washer, plate (6e5)
Loading…
↗
23
663823170000
Damper, ignition coil
Loading…
↗
24
6G5823170000
Damper
Loading…
↗
25
624425420000
Collar
Loading…
↗