Yamaha Outboard Parts - Magneto - 20CMH (1986) | Flood Marine
New Search
Parts
New Outboards
Home
20CMH (1986)
Magneto
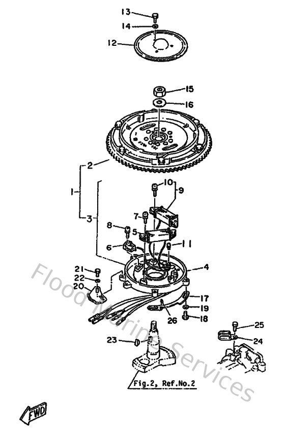
Diagram: Magneto
Parts List
Reference
Description
Price
5
695855207000
Charge coil assembly
Loading…
↗
6
695855807000
Coil, Pulser
Loading…
↗
7
901590503900
Screw panhead (695)
Loading…
↗
8
985070501600
Screw, pan head(jj6)
Loading…
↗
9
69581303A000
Lighting Coil Assembly
Loading…
↗
10
901590504000
Screw, pan head(4my)
Loading…
↗
12
648813620000
Cover Hole
Loading…
↗
13
973130601200
Bolt(gh1)
Loading…
↗
14
929030620000
Ybs66-6 washer, plain
Loading…
↗
15
901701206600
Nut, hexagon 6481155500
Loading…
↗
16
902011247200
Washer, plate (4n0)
Loading…
↗
17
6A9416150100
Stopper, Magneto Base
Loading…
↗
20
6A9412130094
Cam Accele
Loading…
↗
21
973130501000
Bolt, hexagon
Loading…
↗
22
929900560000
Washer, plain (646)
Loading…
↗
23
902800501300
Key, woodruff
Loading…
↗
24
9046106M0100
Clamp (6a4)
Loading…
↗
25
973130601000
Bolt
Loading…
↗
26
695441940000
Cap
Loading…
↗