Yamaha Outboard Parts - Oil Pan - F8BMH (1989) | Flood Marine
New Search
Parts
New Outboards
Home
F8BMH (1989)
Oil Pan
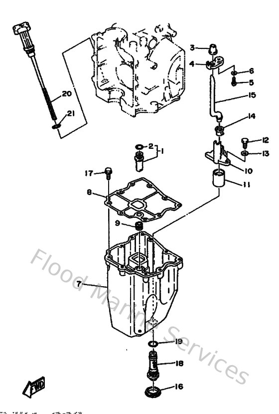
Diagram: Oil Pan
Parts List
Reference
Description
Price
1
6G8115750000
Relief valve ass'y
Loading…
↗
2
9321012M6200
O-ring (6g8)
Loading…
↗
3
6G8153790000
Seal
Loading…
↗
4
6G8134870000
Guide, Oil Hose
Loading…
↗
5
985800501200
Screw,pan head (646)
Loading…
↗
6
929010560000
Washer, plain (646)
Loading…
↗
7
6G815311025B
Oil Pan
Loading…
↗
8
6G815312A100
Gasket, oil pan
Loading…
↗
9
6G8451270000
Seal
Loading…
↗
11
6G8134170000
Cover Strainer
Loading…
↗
12
973130601600
Bolt, hexagon deep recess
Loading…
↗
13
929900660000
Washer, plain (646)
Loading…
↗
14
6G8153150000
Seal, Crankcase
Loading…
↗
16
6G8153160000
Damper 1
Loading…
↗
17
9010506M3300
Bolt (6g8)
Loading…
↗
18
6G8134110100
Strainer, oil
Loading…
↗
19
9321016M6400
O-ring (m124)
Loading…
↗
21
9321013M6300
O-ring (6g8)
Loading…
↗