Yamaha Outboard Parts - Oil Pan - F8BMH (1991) | Flood Marine
New Search
Parts
New Outboards
Home
F8BMH (1991)
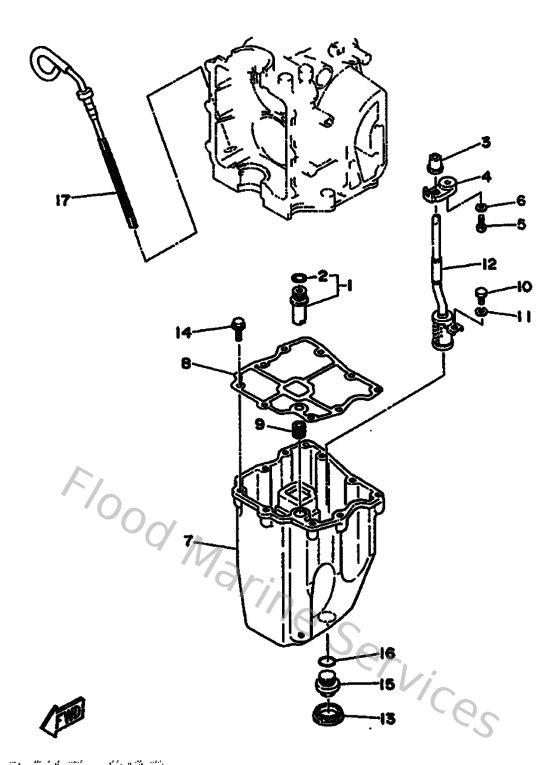
Oil Pan
Diagram: Oil Pan
Parts List
Reference
Description
Price
1
6G8115750000
Relief valve ass'y
Loading…
↗
2
9321012M6200
O-ring (6g8)
Loading…
↗
3
6G8153790000
Seal
Loading…
↗
4
6G8134870000
Guide, Oil Hose
Loading…
↗
5
985800501200
Screw,pan head (646)
Loading…
↗
6
929010560000
Washer, plain (646)
Loading…
↗
7
6G815311020D
Oil Pan
Loading…
↗
8
6G8153120100
Gasket, oil pan
Loading…
↗
9
6G8451270000
Seal
Loading…
↗
10
973130601000
Bolt
Loading…
↗
11
929900610000
Washer(6a1)
Loading…
↗
12
6G8134210000
Strainer 2
Loading…
↗
13
6G8153160000
Damper 1
Loading…
↗
14
9010506M3300
Bolt (6g8)
Loading…
↗
15
6G8134710000
Plug, drain
Loading…
↗
16
9321016M6400
O-ring (m124)
Loading…
↗
17
6G8153620300
Plug, oil level
Loading…
↗