Yamaha Outboard Parts - Oil Pan - F8CMH (2001) | Flood Marine
New Search
Parts
New Outboards
Home
F8CMH (2001)
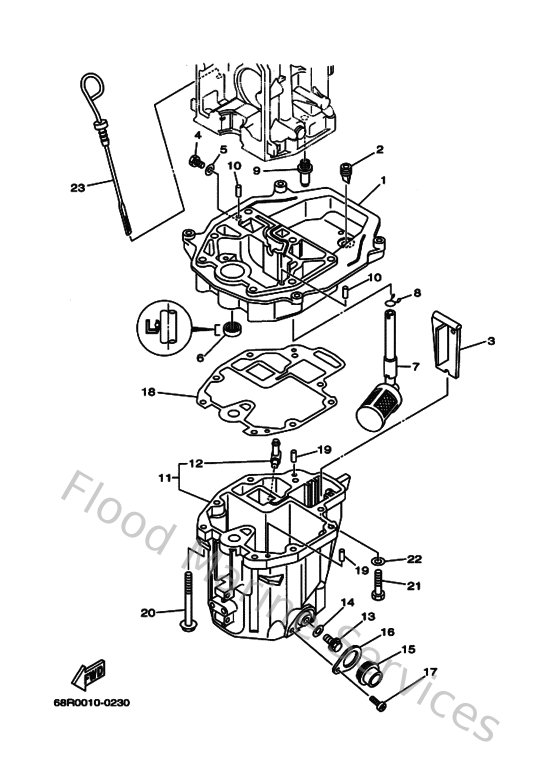
Oil Pan
Diagram: Oil Pan
Parts List
Reference
Description
Price
1
68T411370094
Guide, exhaust
Loading…
↗
2
65W427170000
Rubber, seal 2
Loading…
↗
3
68T451810000
Plate
Loading…
↗
4
970950801400
Bolt, hexagon deep recess
Loading…
↗
5
904300814300
Gasket (256-11198-00)
Loading…
↗
6
9310112M7000
Oil seal
Loading…
↗
7
68T134210100
Strainer 2
Loading…
↗
8
9046711M0800
Clip(72x)
Loading…
↗
9
6G8115750000
Relief valve ass'y
Loading…
↗
10
936061201900
Pin, dowel (614)
Loading…
↗
11
68T15311005B
Oil pan
Loading…
↗
12
6H1113720000
Nipple, hose
Loading…
↗
13
9034010M1000
Plug, straight screw
Loading…
↗
14
9043010M1100
Gasket
Loading…
↗
15
68T153160000
Damper, engine mount 1
Loading…
↗
16
68T153170000
Spacer, engine mount
Loading…
↗
17
978850500800
Screw, pan head
Loading…
↗
18
68T134750000
Gasket
Loading…
↗
19
9360410M0300
Pin, dowel (688)
Loading…
↗
20
901190800500
Bolt, with washer
Loading…
↗
21
970750803000
Bolt, hexagon (fj1)
Loading…
↗
22
929950860000
Washer, plain (663)
Loading…
↗
23
68T153620000
Plug, oil level
Loading…
↗