Yamaha Outboard Parts - Oil Pump - 115CETOL (1993) | Flood Marine
New Search
Parts
New Outboards
Home
115CETOL (1993)
Oil Pump
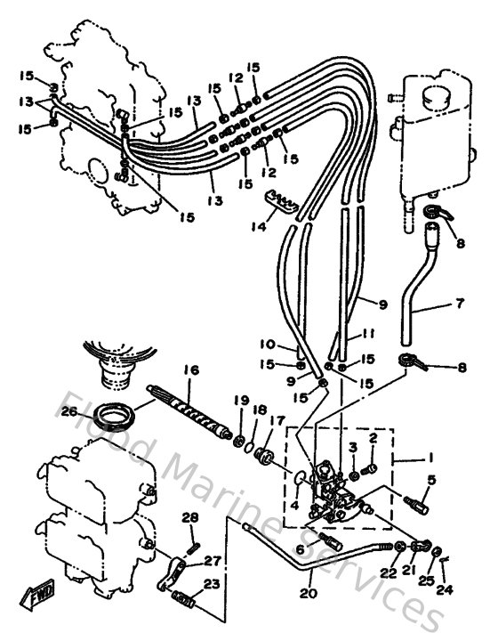
Diagram: Oil Pump
Parts List
Reference
Description
Price
1
6N6132000000
Oil injection pump assembly
Loading…
↗
2
716244440000
Screw
Loading…
↗
3
6L2134750000
Gasket, breather bolt
Loading…
↗
4
9321019MA700
O-ring(6r0)
Loading…
↗
5
9010906M4000
Bolt(6h0)
Loading…
↗
6
9010906M3900
Bolt(6h0)
Loading…
↗
7
6N7134160000
Pipe, oil 1
Loading…
↗
8
904651009800
Clamp
Loading…
↗
9
9044507M8500
Hose (l390)
Loading…
↗
10
9044507M8400
Hose (l200)
Loading…
↗
11
9044507M7300
Hose (l390)
Loading…
↗
12
6R3131831000
Valve, check
Loading…
↗
13
9044507M8700
Hose(62t)
Loading…
↗
14
9046407M0600
Clamp (6e5)
Loading…
↗
15
9046807M0200
Clip (6e5)
Loading…
↗
16
6R3115370000
Gear, driven
Loading…
↗
17
6R3131170000
Collar, distance
Loading…
↗
18
932101359500
93210-13m04
Loading…
↗
19
9020208M4400
Washer, plate(6r3)
Loading…
↗
20
6R3412410000
Rod, link
Loading…
↗
21
6H1412370000
Joint, link
Loading…
↗
22
953800560000
Nut, hexagon (663)
Loading…
↗
23
6R5412370000
Joint, link
Loading…
↗
24
9046805M0300
Clip(6j8)
Loading…
↗
25
902020508800
Washer, plate (666)
Loading…
↗
26
6R3115360000
Gear, drive
Loading…
↗
27
6E5142760100
Lever
Loading…
↗
28
916903001600
Pin, spring
Loading…
↗