Yamaha Outboard Parts - Oil Pump - 220AETL (1985) | Flood Marine
New Search
Parts
New Outboards
Home
220AETL (1985)
Oil Pump
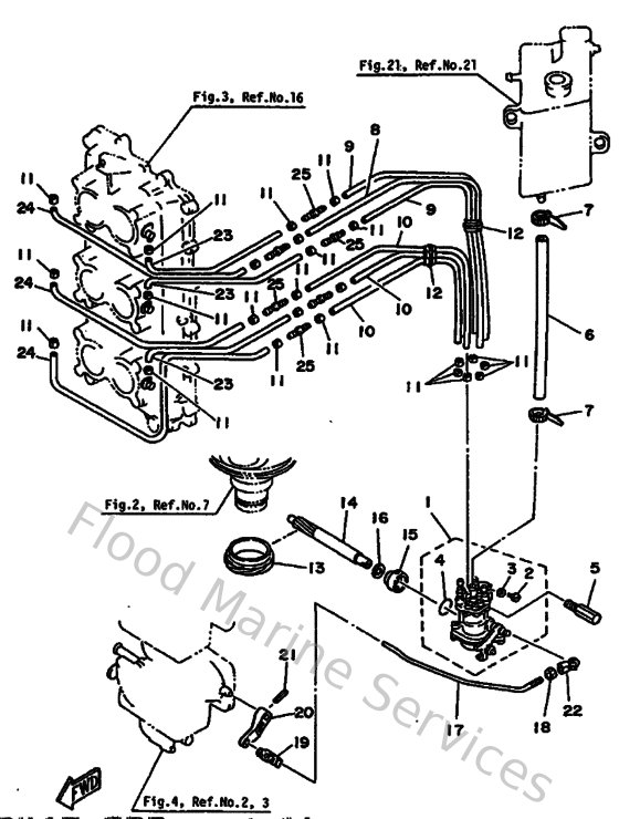
Diagram: Oil Pump
Parts List
Reference
Description
Price
1
6G6132000000
Oil Injection Pump assembly
Loading…
↗
2
6E5134710000
Plug, Drain
Loading…
↗
3
6E5134750000
Washer
Loading…
↗
6
9044512M6500
Hose (l250)
Loading…
↗
7
80L263970000
Band
Loading…
↗
9
9044507M8500
Hose (l390)
Loading…
↗
10
9044507M8300
Hose (l200)
Loading…
↗
11
9046807M0200
Clip (6e5)
Loading…
↗
12
9046407M0500
Clamp (6g5)
Loading…
↗
13
6E5115360000
Gear, Driven
Loading…
↗
14
6E5115370000
Gear, Driven
Loading…
↗
15
6E5131170100
Collar, distance
Loading…
↗
16
9020108M9300
Washer, plate (6g5)
Loading…
↗
17
6E5412410000
Rod, Link
Loading…
↗
18
953030560000
Nut, hexagon (663)
Loading…
↗
19
6E9412370000
Joint, link
Loading…
↗
20
6E5142760100
Lever
Loading…
↗
21
916903001600
Pin, spring
Loading…
↗
22
662412370100
Joint, link
Loading…
↗
23
9044507M8700
Hose(62t)
Loading…
↗
24
9044507M9600
Hose(62t)
Loading…
↗
25
6E5131320000
Joint
Loading…
↗