Yamaha Outboard Parts - Oil Pump - 225AETOL (1987) | Flood Marine
New Search
Parts
New Outboards
Home
225AETOL (1987)
Oil Pump
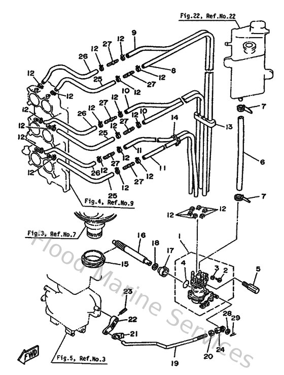
Diagram: Oil Pump
Parts List
Reference
Description
Price
1
6K7132000000
Oil Injection Pump assembly
Loading…
↗
2
6E5134710000
Plug, Drain
Loading…
↗
3
6E5134750000
Washer
Loading…
↗
6
904451223900
Hose (l250)
Loading…
↗
7
9046511M1000
Clamp
Loading…
↗
8
9044507M9000
Hose (l390)
Loading…
↗
9
9044507M4500
Hose (l390)
Loading…
↗
10
9044507MA400
Hose (l390)
Loading…
↗
11
9044507M2300
Hose (l570)
Loading…
↗
12
9046807M0200
Clip (6e5)
Loading…
↗
13
9046407M0600
Clamp (6e5)
Loading…
↗
14
9046407M2000
Clamp(6h0)
Loading…
↗
15
6E5115360000
Gear, Driven
Loading…
↗
16
6E5115370000
Gear, Driven
Loading…
↗
17
6E5131170000
Collar, distance
Loading…
↗
18
9020108M9300
Washer, plate (6g5)
Loading…
↗
19
6K7412410000
Rod, Link
Loading…
↗
20
953030560000
Nut, hexagon (663)
Loading…
↗
21
6R5412370000
Joint, link
Loading…
↗
22
6E5142760000
Lever
Loading…
↗
23
916903001600
Pin, spring
Loading…
↗
24
6H1412370000
Joint, link
Loading…
↗
26
9044607M4800
Hose(62t)
Loading…
↗
27
6E5131320000
Joint
Loading…
↗
28
902020508800
Washer, plate (666)
Loading…
↗
29
9046805M0300
Clip(6j8)
Loading…
↗