Yamaha Outboard Parts - Oil Pump - 225FETO (2000) | Flood Marine
New Search
Parts
New Outboards
Home
225FETO (2000)
Oil Pump
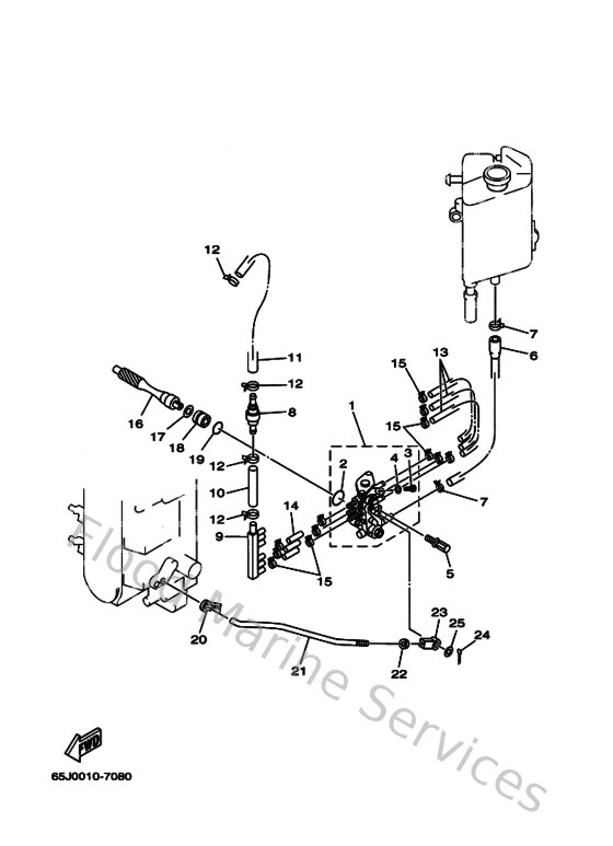
Diagram: Oil Pump
Parts List
Reference
Description
Price
1
65L132000000
Oil injection pump assembly
Loading…
↗
2
9321019M8200
O-ring(6j8)
Loading…
↗
3
985800400600
Screw, pan head (7h3)
Loading…
↗
4
6L2134750000
Gasket, breather bolt
Loading…
↗
5
9010906M4000
Bolt(6h0)
Loading…
↗
6
61A134160000
Pipe Oil 1
Loading…
↗
7
904651009800
Clamp
Loading…
↗
8
65L131830000
Valve, check
Loading…
↗
9
65L243780000
Pipe, joint 4
Loading…
↗
10
904450922000
Hose (l1500)
Loading…
↗
11
9044609M6900
Hose(65j)
Loading…
↗
13
9044507M0200
Hose (l200)
Loading…
↗
14
9044507M0300
Hose (l200)
Loading…
↗
15
9046807M0200
Clip (6e5)
Loading…
↗
16
61A115370000
Gear, driven
Loading…
↗
17
9020109M0100
Washer, plate(61b)
Loading…
↗
18
61A131170000
Collar, distance
Loading…
↗
19
9321018MA900
O-ring(61a)
Loading…
↗
20
6R5412370000
Joint, link
Loading…
↗
21
65L412410000
Rod, Link
Loading…
↗
22
953800560000
Nut, hexagon (663)
Loading…
↗
23
6H1412370000
Joint, link
Loading…
↗
24
914901201200
Pin, cotter (6g8)
Loading…
↗
25
902020508800
Washer, plate (666)
Loading…
↗