Yamaha Outboard Parts - Oil Tank - 175DETOL (2001) | Flood Marine

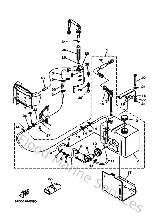
Diagram: Oil Tank

Diagram

Parts List

Reference
Description
Price