Yamaha Outboard Parts - Oil Tank - Z150Q (2000) | Flood Marine

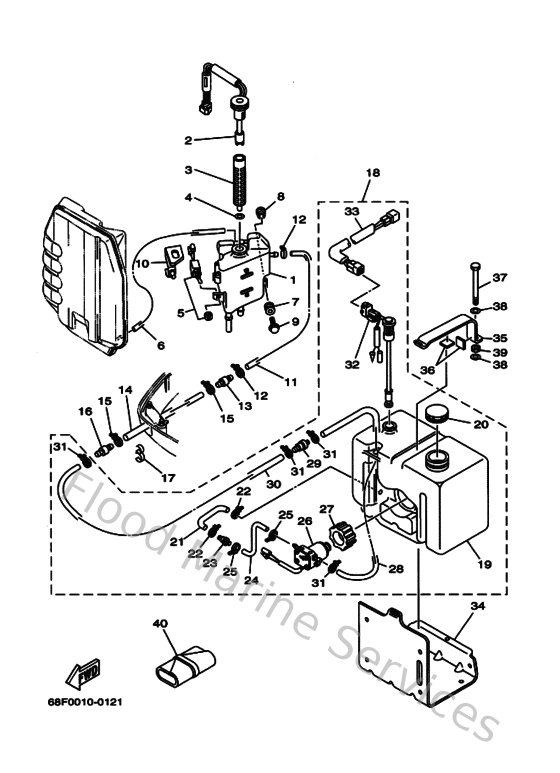
Diagram: Oil Tank

Diagram

Parts List

Reference
Description
Price