Yamaha Outboard Parts - Optional Parts 1 - 115BETO (1991) | Flood Marine
New Search
Parts
New Outboards
Home
115BETO (1991)
Optional Parts 1
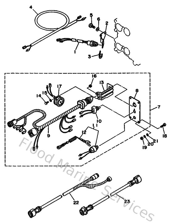
Diagram: Optional Parts 1
Parts List
Reference
Description
Price
1
688825401100
Neutral switch assembly
Loading…
↗
2
6E5825540000
Stay, neutral switch
Loading…
↗
3
663825550100
Plate
Loading…
↗
4
688825411000
Wire, lead
Loading…
↗
5
970950601600
Bolt, hexagon deep recess
Loading…
↗
6
929900610000
Washer(6a1)
Loading…
↗
7
704825701200
Panel switch assembly
Loading…
↗
8
689825710200
Panel, Switch
Loading…
↗
9
704825100200
Main switch assembly
Loading…
↗
10
703825740000
Switch, choke
Loading…
↗
11
688825750200
Engine stop switch assembly
Loading…
↗
12
682825560000
Lanyard, stop switch
Loading…
↗
13
704825810000
Stay, Cord Clamp
Loading…
↗
14
973030501200
Bolt, hexagon
Loading…
↗
15
929900510000
Ybs67-5 washer, spring
Loading…
↗
16
953030570000
Nut (656)
Loading…
↗
17
688833831200
Buzzer
Loading…
↗
18
9014905M0500
Screw(6k0)
Loading…
↗
19
953800560000
Nut, hexagon (663)
Loading…
↗
21
929900560000
Washer, plain (646)
Loading…
↗
22
6888258A5000
10p main harness mec 5m (16ft)
Loading…
↗
23
6888258A1000
10p main harness mec 2m (7ft)
Loading…
↗