Yamaha Outboard Parts - Optional Parts 2 - 115AETOL (1985) | Flood Marine
New Search
Parts
New Outboards
Home
115AETOL (1985)
Optional Parts 2
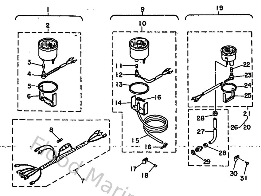
Diagram: Optional Parts 2
Parts List
Reference
Description
Price
2
688835400000
Tachometer assembly
Loading…
↗
3
688835160000
Bulb, pilot (t6.5, 12v-1.7w)
Loading…
↗
4
688835360000
Socket, meter
Loading…
↗
6
688835440000
Plate, Fitting
Loading…
↗
7
688835531000
Wire, lead
Loading…
↗
8
1E6821510000
Fuse (10a)
Loading…
↗
10
6E5835100000
Speedometer assembly
Loading…
↗
15
688835570000
Tube (8m)
Loading…
↗
16
904651009800
Clamp
Loading…
↗
17
906013140200
021-58119-01 clip,nylon 14
Loading…
↗
18
977804011600
Screw,panh.tapping
Loading…
↗
21
688836610000
Water pressure meter assembly
Loading…
↗
24
688836640000
Damper
Loading…
↗
25
688836650000
Plate, fitting
Loading…
↗
26
688836670000
Sender
Loading…
↗
27
688836660000
Tube
Loading…
↗
28
663836680000
Nut, nipple
Loading…
↗
29
904301411500
Gasket (663)
Loading…
↗