Yamaha Outboard Parts - Optional Parts 2 - 8CEM (1989) | Flood Marine
New Search
Parts
New Outboards
Home
8CEM (1989)
Optional Parts 2
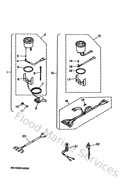
Diagram: Optional Parts 2
Parts List
Reference
Description
Price
1
6Y5W00814000
Speedometer Kit
Loading…
↗
2
6Y5835103000
Speedometer assembly (km/h,knots,m
Loading…
↗
3
688835160000
Bulb, pilot (t6.5, 12v-1.7w)
Loading…
↗
4
6Y5835361000
Socket, meter
Loading…
↗
5
6Y5835230000
Damper
Loading…
↗
6
6Y5835140000
Plate, fitting
Loading…
↗
7
6Y5835571000
Tube (8m)
Loading…
↗
8
9046511M1000
Clamp
Loading…
↗
9
688835560100
Sender (with hose l:6m/d:4mm)
Loading…
↗
10
906013140200
021-58119-01 clip,nylon 14
Loading…
↗
11
977804011600
Screw,panh.tapping
Loading…
↗
12
6Y5W00801200
Tachometer kit
Loading…
↗
13
6Y5835401200
Tachometer assembly
Loading…
↗
18
6Y5835530000
Wire, lead (l=2.5m)
Loading…
↗
19
1E6821510000
Fuse (10a)
Loading…
↗
20
6Y5835531000
Wire, lead
Loading…
↗
21
688825200000
Lamp switch assembly
Loading…
↗
22
688825260000
Switch, lamp
Loading…
↗