Yamaha Outboard Parts - Optional Parts 3 - 140BETOL (1988) | Flood Marine
New Search
Parts
New Outboards
Home
140BETOL (1988)
Optional Parts 3
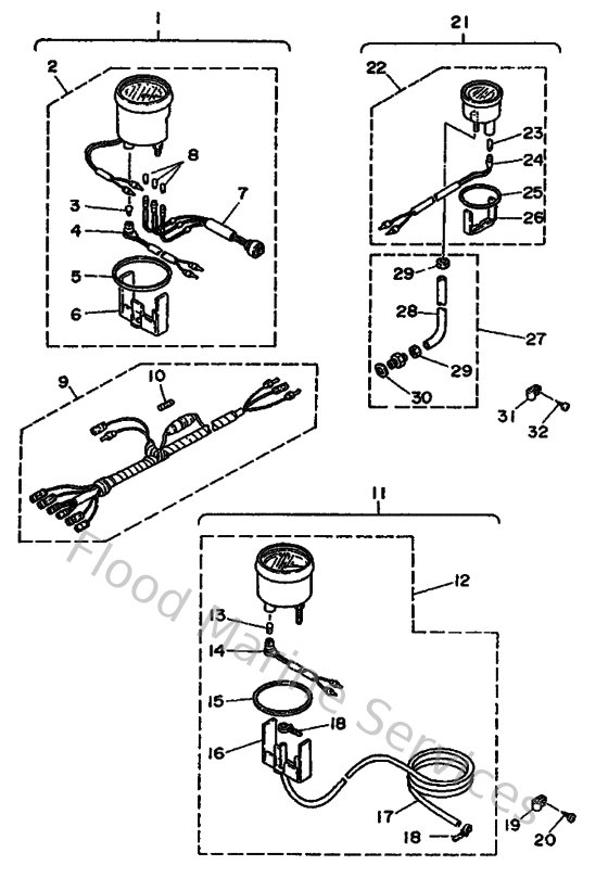
Diagram: Optional Parts 3
Parts List
Reference
Description
Price
1
6Y5W00800100
Tachometer Kit
Loading…
↗
2
6Y5835400200
Tachometer assembly
Loading…
↗
3
688835160000
Bulb, pilot (t6.5, 12v-1.7w)
Loading…
↗
4
688835360000
Socket, meter
Loading…
↗
5
6Y5835230000
Damper
Loading…
↗
8
6Y5835180000
Bulb (12v-1.7w) t6.5
Loading…
↗
9
6Y583553N000
Wire, lead (l=2.5m)
Loading…
↗
10
1E6821510000
Fuse (10a)
Loading…
↗
11
6Y5W00812000
Speedometer Kit
Loading…
↗
16
6Y5835140000
Plate, fitting
Loading…
↗
17
688835570000
Tube (8m)
Loading…
↗
18
904651009800
Clamp
Loading…
↗
19
906013140200
021-58119-01 clip,nylon 14
Loading…
↗
20
977804011600
Screw,panh.tapping
Loading…
↗
21
6Y5W00880000
Water Pressure Meter Kit
Loading…
↗
22
6Y5836600000
Water pressure meter assembly
Loading…
↗
24
6Y5835360000
Socket, meter
Loading…
↗
25
688836640000
Damper
Loading…
↗
26
688836650000
Plate, fitting
Loading…
↗
27
688836670000
Sender
Loading…
↗
28
688836660000
Tube
Loading…
↗
29
663836680000
Nut, nipple
Loading…
↗
30
904301411500
Gasket (663)
Loading…
↗