Yamaha Outboard Parts - Optionnelles 1 - 25NEMO (1997) | Flood Marine
New Search
Parts
New Outboards
Home
25NEMO (1997)
Optionnelles 1
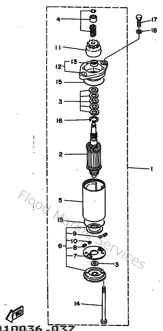
Diagram: Optionnelles 1
Parts List
Reference
Description
Price
1
6L2818001100
Starting motor assembly
Loading…
↗
2
6L2818501100
Armature assembly
Loading…
↗
3
682818091000
Washer kit
Loading…
↗
4
6L2818331000
Ring, stop
Loading…
↗
6
6L2818202000
Rear bracket assembly
Loading…
↗
7
6L2818401000
Brush holder assembly
Loading…
↗
8
682818131000
Spring, brush
Loading…
↗
9
6L2818112000
Brush 1
Loading…
↗
10
6L2818121000
Brush 2
Loading…
↗
11
682818321000
Pinion assembly
Loading…
↗
13
682818310000
Metal, front
Loading…
↗
14
682818261000
Bolt
Loading…
↗
15
682818471000
O-ring
Loading…
↗
16
682818341000
Ring
Loading…
↗
17
970130802500
Bolt (682)
Loading…
↗
18
929900860000
Washer, plain (663)
Loading…
↗