Yamaha Outboard Parts - Partie Electrique 1 - 115BETO (1996) | Flood Marine
New Search
Parts
New Outboards
Home
115BETO (1996)
Partie Electrique 1
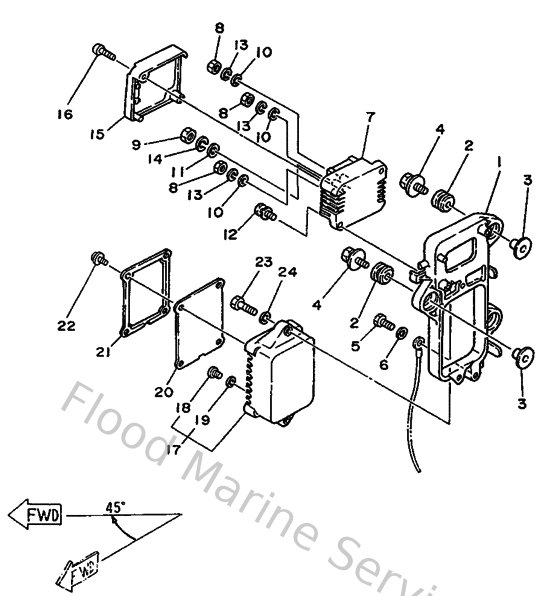
Diagram: Partie Electrique 1
Parts List
Reference
Description
Price
1
6E5855420094
Bracket
Loading…
↗
2
9048009M1200
Grommet (6a0)
Loading…
↗
3
9038706M0300
Collar (676)
Loading…
↗
4
9011906M6000
Bolt, with washer
Loading…
↗
5
970950601600
Bolt, hexagon deep recess
Loading…
↗
6
929900660000
Washer, plain (646)
Loading…
↗
7
6G581960A000
Rectifier & regulator assembly
Loading…
↗
8
953800560000
Nut, hexagon (663)
Loading…
↗
9
953800660000
Nut(661)
Loading…
↗
10
929900520000
Ybs66-5 washer, plain
Loading…
↗
11
929900620000
Ybs66-6 washer, plain
Loading…
↗
12
970800602000
Bolt(7u8)
Loading…
↗
13
929900510000
Ybs67-5 washer, spring
Loading…
↗
14
929950610000
Washer(6a1)
Loading…
↗
15
688819610100
Cover
Loading…
↗
17
6E5855401200
Cdi unit assembly
Loading…
↗
18
985800400800
Screw, pan head (713)
Loading…
↗
19
929900420000
Ybs66-4 washer, plain
Loading…
↗
20
6E5855471000
Damper
Loading…
↗
21
6E5855371000
Cover
Loading…
↗
22
979850521000
Screw, With Washer
Loading…
↗
23
970950602500
Bolt
Loading…
↗