Yamaha Outboard Parts - Power Trim & Tilt Assy 1 - 40VMO (1997) | Flood Marine
New Search
Parts
New Outboards
Home
40VMO (1997)
Power Trim & Tilt Assy 1
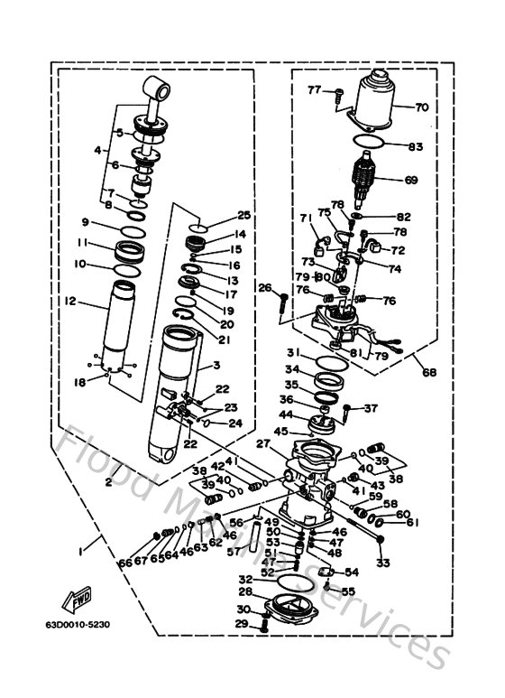
Diagram: Power Trim & Tilt Assy 1
Parts List
Reference
Description
Price
1
62X43800024D
Power trim & tilt assembly
Loading…
↗
2
62X438400100
Power Tilt assembly
Loading…
↗
3
62X4380K0000
Cylinder, tilt sub assembly
Loading…
↗
4
62X438100300
Tilt piston sub assembly
Loading…
↗
5
62X438610000
O-ring
Loading…
↗
6
62X438620000
O-ring
Loading…
↗
7
932102937500
O-ring (j10)
Loading…
↗
8
62X438710000
Ring, back up
Loading…
↗
9
932104438300
O-ring (705)
Loading…
↗
10
932104880000
O-ring
Loading…
↗
11
62X4388A0000
Piston, trim
Loading…
↗
12
62X224710000
Cylinder, Shock Absorber
Loading…
↗
13
990093550000
Circlip(47y)
Loading…
↗
14
62X438140000
Piston, Free
Loading…
↗
15
6H14384G1100
Seal, relief valve
Loading…
↗
16
61A438750000
Ring, snap
Loading…
↗
17
62X438990000
Plate stopper
Loading…
↗
18
935031600300
Ball
Loading…
↗
19
62X4384H0000
Spring
Loading…
↗
20
1UF224340000
Plate, valve 1
Loading…
↗
21
62X438750000
Ring, snap
Loading…
↗
22
916904001000
Pin, spring
Loading…
↗
23
932100651900
O-ring(6h0)
Loading…
↗
24
62X438640000
O-Ring
Loading…
↗
26
62X438880000
Bolt,socket
Loading…
↗
27
62X4380L0000
Housing, Trim & Tilt Sub assembly
Loading…
↗
28
62X4385M0100
Plate, Reservoir
Loading…
↗
29
970950601600
Bolt, hexagon deep recess
Loading…
↗
30
929950610000
Washer(6a1)
Loading…
↗
31
62X438650000
O-ring
Loading…
↗
32
62X438660000
O-Ring
Loading…
↗
33
62X438780100
Bolt, socket
Loading…
↗
34
6H1438170100
Filter 2
Loading…
↗
35
6H14385H0000
Spring, seal
Loading…
↗
36
6H1438311000
Connector, shaft
Loading…
↗
37
913180402500
Bolt(62x)
Loading…
↗
38
6T4438020300
Valve sub assembly
Loading…
↗
39
6H1438660000
O-ring
Loading…
↗
40
6H1438670000
O-ring
Loading…
↗
41
932100981100
O-ring
Loading…
↗
42
62X438410000
Piston, shuttle
Loading…
↗
43
6H1438290000
Plug, reservoir
Loading…
↗
44
62X438300000
Gear Pump assembly
Loading…
↗
46
6H14384F1000
Seal, main valve
Loading…
↗
47
6H1438441000
Pin, valve support
Loading…
↗
48
6H1438561000
Spring, down relief
Loading…
↗
49
6H1438160000
Filter 1
Loading…
↗
50
6H1438960000
O-ring (2h7)
Loading…
↗
52
6H1438551100
Spring, up relief
Loading…
↗
53
6H1438951200
Seat, relief valve
Loading…
↗
55
976070521000
Screw, With Washer
Loading…
↗
59
935053203800
Ball(7fk)
Loading…
↗
60
932101839700
O-ring (6g5)
Loading…
↗
61
6H1438750000
Ring, snap
Loading…
↗
62
61A4385H0000
Spring, seal
Loading…
↗
63
936051010800
Pin, dowel (8g8)
Loading…
↗
64
932100663200
O-ring (26h)
Loading…
↗
65
932100754000
O-ring (11m)
Loading…
↗
66
6T4438760000
Ring, snap
Loading…
↗
67
6T4438490000
Pin, valve support
Loading…
↗
68
62X438800000
Motor assembly
Loading…
↗
69
62X438050000
Armature assembly
Loading…
↗
70
62X438040000
Stator assembly
Loading…
↗
71
62Y438910000
Brush 1
Loading…
↗
72
62X438920000
Brush 2
Loading…
↗
73
62X821810000
Circuit Breaker Comp
Loading…
↗
74
69W4380F0000
Plate, brush holder
Loading…
↗
76
62X4386K0000
Spring, brush
Loading…
↗
77
978800502000
Screw, pan head (e22)
Loading…
↗
78
985170401200
Screw, pan head
Loading…
↗
79
62Y438810000
Frame, end
Loading…
↗
80
62X4380H0000
Metal
Loading…
↗
81
931020841400
Oil seal(61a)
Loading…
↗
82
90201083J800
Washer, plate(62x)
Loading…
↗
83
932105058200
O-ring(50m)
Loading…
↗