Yamaha Outboard Parts - REPAIR KIT 2 - E60HMHD (2023) | Flood Marine
New Search
Parts
New Outboards
Home
E60HMHD (2023)
REPAIR KIT 2
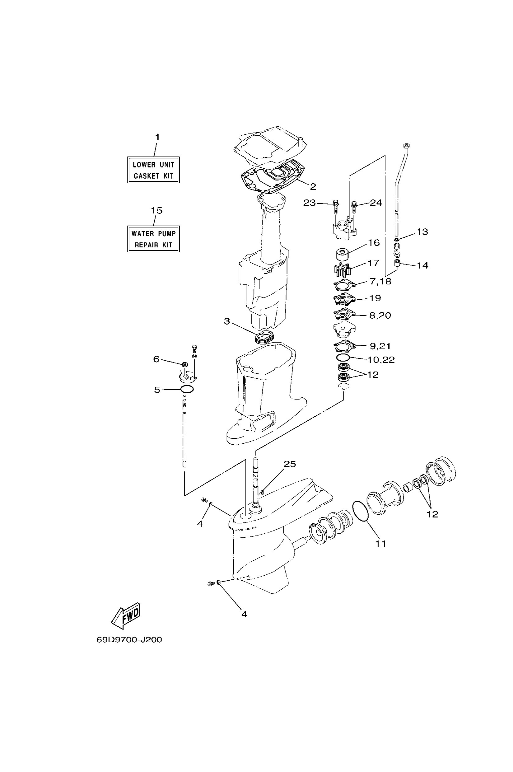
Diagram: REPAIR KIT 2
Parts List
Reference
Description
Price
1
69DW000121
Lower unit gasket kit
Loading…
↗
2
6H345114A1
Gasket, upper casing
Loading…
↗
3
6H34512300
Gasket, muffler
Loading…
↗
4
9043008003
Gasket
Loading…
↗
5
9321049046
O-ring (620)
Loading…
↗
6
9310609014
Oil Seal
Loading…
↗
7
68844315A0
Gasket,water pump 1
Loading…
↗
8
68844324A0
Gasket,cartridge 0uter plate
Loading…
↗
9
68844316A0
Gasket,water pump 2
Loading…
↗
10
9321046044
O-ring
Loading…
↗
11
9321085M97
O-ring(6h1)
Loading…
↗
12
9310125M03
Oil seal
Loading…
↗
13
9043012072
Gasket
Loading…
↗
14
6634436601
Damper, water seal 2
Loading…
↗
15
69DW007800
Water pump repair kit
Loading…
↗
16
69D4432200
Insert, cartridge
Loading…
↗
17
6884435203
Impeller
Loading…
↗
19
6884432340
Outer plate, cartridge
Loading…
↗
23
9011908196
Bolt, with washer
Loading…
↗
24
9011908192
Bolt, with washer
Loading…
↗
25
9028004M04
Key, woodruff (688)
Loading…
↗