Yamaha Outboard Parts - Remote Control - 200AETOL (1985) | Flood Marine
New Search
Parts
New Outboards
Home
200AETOL (1985)
Remote Control
Diagram: Remote Control
Parts List
Reference
Description
Price
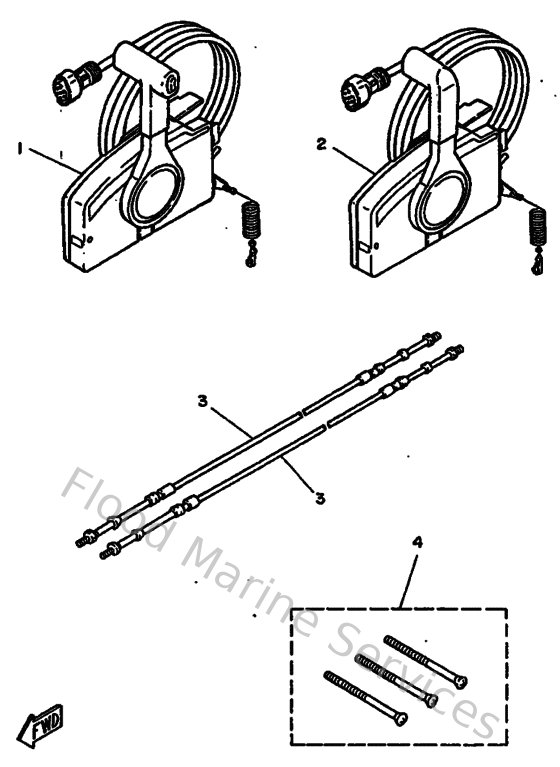
1
703482051000
Remote control assembly (10p, ptt)
Loading…
↗
2
703482081000
Remote control assembly (10p)
Loading…
↗
3
MARCABLE09SC
Remote Control Cable 9' :ob
Loading…
↗
4
703482900100
Twin attachment
Loading…
↗