Yamaha Outboard Parts - Repair Kit - 3AMH (2001) | Flood Marine
New Search
Parts
New Outboards
Home
3AMH (2001)
Repair Kit
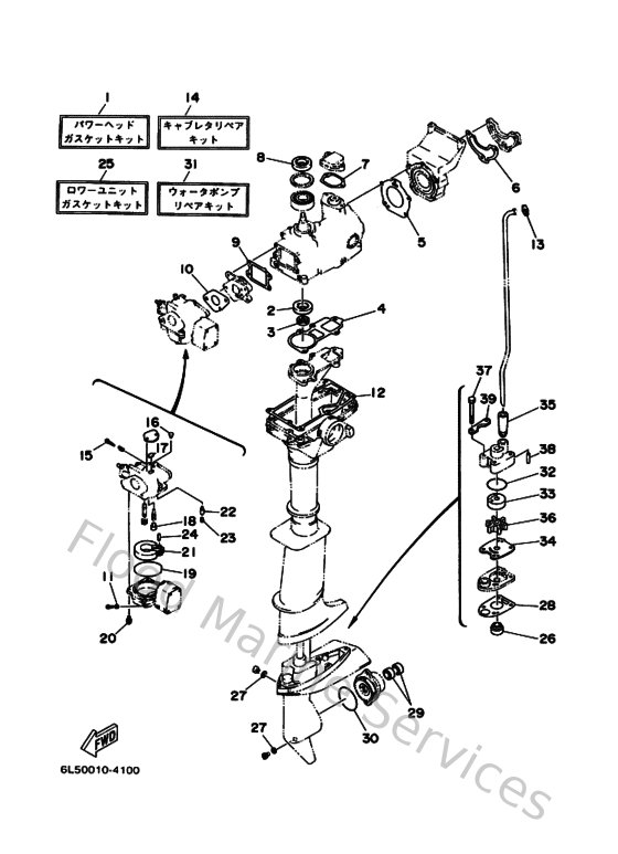
Diagram: Repair Kit
Parts List
Reference
Description
Price
1
6L5W0001A100
Power head gasket kit
Loading…
↗
2
9310120M2900
Oil seal(6j1)
Loading…
↗
3
9310109M4200
Oil seal(6l5)
Loading…
↗
4
6L515369A000
Gasket, oil seal housing
Loading…
↗
5
6L511181A200
Gasket, cylinder head 1
Loading…
↗
6
6L511193A100
Gasket, head cover
Loading…
↗
7
6L512414A100
Gasket, cover
Loading…
↗
8
9310220M0600
Oil seal(6j1)
Loading…
↗
9
6L513621A200
Gasket, valve seat
Loading…
↗
10
6L514198A100
Gasket
Loading…
↗
11
6G1143980000
Washer
Loading…
↗
12
6L545113A100
Gasket, upper casing
Loading…
↗
13
646443650000
Damper, water seal 1
Loading…
↗
14
6G1W00930000
Carburetor repair kit
Loading…
↗
15
679149230000
Screw, pilot
Loading…
↗
16
6G1149660000
Cap
Loading…
↗
17
6G1141260000
Packing
Loading…
↗
18
676149660000
Rubber cap
Loading…
↗
19
6G1149840000
Gasket, float chamber
Loading…
↗
20
985800401400
Screw, pan head(ga5)
Loading…
↗
21
6G1149850000
Float comp.
Loading…
↗
22
6G1145460000
Valve, needle
Loading…
↗
23
676141860000
Pin, valve
Loading…
↗
24
688145480000
Pin, arm
Loading…
↗
26
9310309M4100
Oil seal
Loading…
↗
27
904300802000
Gasket
Loading…
↗
28
6L545315A000
Packing,l0wer casing
Loading…
↗
29
931011380000
Oil seal
Loading…
↗
30
932104821400
O-ring
Loading…
↗
31
6L5W00780000
Water pump repair kit
Loading…
↗
32
9321033M8500
O-ring(6l5)
Loading…
↗
33
6L5443220000
Insert, cartridge
Loading…
↗
34
6L5443230000
Outer plate, cartridge
Loading…
↗
35
6E0443660000
Damper, water seal 2
Loading…
↗
36
6L5443520000
Impeller
Loading…
↗
37
970950604000
Bolt (682)
Loading…
↗
38
936041808000
Pin. dowel. (647)
Loading…
↗
39
6L5443280000
Plate
Loading…
↗