Yamaha Outboard Parts - Repair Kit - 8CEM (1993) | Flood Marine
New Search
Parts
New Outboards
Home
8CEM (1993)
Repair Kit
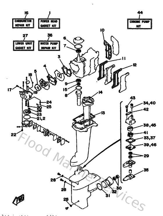
Diagram: Repair Kit
Parts List
Reference
Description
Price
1
6G1W00010200
Gasket kit, power unit
Loading…
↗
2
6G1149840000
Gasket, float chamber
Loading…
↗
3
6G113621A100
Gasket, valve seat
Loading…
↗
4
6G113645A100
Gasket, intake manifold
Loading…
↗
5
6G114198A100
Gasket
Loading…
↗
6
9321054M5400
O-ring (6g1)
Loading…
↗
7
9310220M2500
Oil seal (6e0)
Loading…
↗
8
932104215900
O-ring (647)
Loading…
↗
9
9310120M3400
Oil seal(6j1)
Loading…
↗
10
6G111193A100
Gasket, head cover 1
Loading…
↗
11
6G141112A100
Gasket, exhaust inner cover
Loading…
↗
12
6G141114A000
Gasket, exhaust outer cover
Loading…
↗
13
6G145113A100
Gasket, upper casing
Loading…
↗
14
6G141133A000
Gasket, exhaust manifold 1
Loading…
↗
15
9310112M2600
Oil seal(6g1)
Loading…
↗
16
6G1W00930000
Carburetor repair kit
Loading…
↗
18
6G1149660000
Cap
Loading…
↗
19
6G1141260000
Packing
Loading…
↗
20
679149660000
Rubber cap
Loading…
↗
22
979800411400
Screw, pan head(ga5)
Loading…
↗
23
6G1149850000
Float comp.
Loading…
↗
24
6G1145460100
Valve, needle
Loading…
↗
25
676141860000
Pin, valve
Loading…
↗
26
688145480000
Pin, arm
Loading…
↗
27
6G1W00012100
Gasket kit, lower unit
Loading…
↗
28
904300800300
Gasket
Loading…
↗
29
9310111M2300
Oil seal (6g1)
Loading…
↗
30
931011507400
Oil seal (655)
Loading…
↗
31
932104904600
O-ring (620)
Loading…
↗
32
932105367900
O-ring(50m)
Loading…
↗
33
6G144315A000
Gasket,water pump
Loading…
↗
34
647443660000
Damper, water seal 2
Loading…
↗
35
6G145315A000
Packing, lower casing
Loading…
↗
36
6G1W00780100
Water pump repair kit
Loading…
↗
38
6G1443220000
Insert, cartridge
Loading…
↗
39
6G1443230000
Outer plate, cartridge
Loading…
↗
41
6G1443520000
Impeller
Loading…
↗
42
6G1443280000
Plate
Loading…
↗
43
973950604500
Bolt, hexagon
Loading…
↗
44
6G1W00780A00
Chrome pump kit
Loading…
↗
45
6G1443224000
Insert, cartridge
Loading…
↗
46
6G1443234000
Outer plate, cartridge
Loading…
↗