Yamaha Outboard Parts - Repair Kit 1 - 175DETOL (2001) | Flood Marine

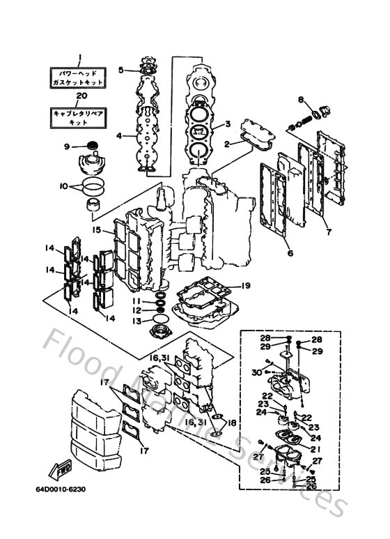
Diagram: Repair Kit 1

Diagram