Yamaha Outboard Parts - Repair Kit 1 - 30GMH (2001) | Flood Marine
New Search
Parts
New Outboards
Home
30GMH (2001)
Repair Kit 1
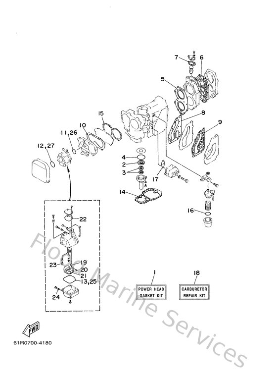
Diagram: Repair Kit 1
Parts List
Reference
Description
Price
1
61TW00010200
Gasket kit
Loading…
↗
2
9310225M0400
Oil seal(6h4)
Loading…
↗
3
9310116M3600
Oil seal(6a8)
Loading…
↗
4
9321058M2100
O-ring (683)
Loading…
↗
5
61N11181A200
Gasket, cylinder head 1
Loading…
↗
6
61T11193A000
Gasket, head cover 1
Loading…
↗
7
65512414A100
Gasket, cover
Loading…
↗
8
6K841122A100
Gasket, exhaust inner cover
Loading…
↗
9
6K841124A100
Gasket, exhaust outer cover
Loading…
↗
10
64813645A000
Gasket, manifold 1
Loading…
↗
11
61N141980000
Gasket
Loading…
↗
12
932104065900
O-ring(36y)
Loading…
↗
13
6L2143840000
Gasket, float chamber
Loading…
↗
14
68945113A100
Gasket, upper casing
Loading…
↗
15
64813621A100
Gasket, valve seat
Loading…
↗
16
932103273800
O-ring(1wg)
Loading…
↗
17
65024431A000
Gasket,fuel pump
Loading…
↗
18
61NW00930000
Carburetor repair kit
Loading…
↗
19
61N143920000
Valve, needle
Loading…
↗
20
6E5143860100
Pin, float
Loading…
↗
21
6L2143850000
Float
Loading…
↗
22
6L2143990000
Gasket
Loading…
↗
23
50M143550000
Plug
Loading…
↗
24
6L2143980000
Gasket
Loading…
↗