Yamaha Outboard Parts - Repair Kit 2 - 25DMH (1987) | Flood Marine
New Search
Parts
New Outboards
Home
25DMH (1987)
Repair Kit 2
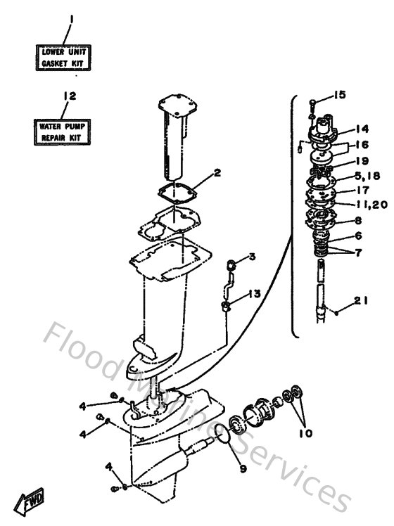
Diagram: Repair Kit 2
Parts List
Reference
Description
Price
1
689W00012200
Gasket kit, lower unit
Loading…
↗
2
664411340000
Gasket, exhaust manifold
Loading…
↗
3
689443660000
Damper, water seal 2
Loading…
↗
4
904300802000
Gasket
Loading…
↗
5
68944324A000
Gasket, cartridge
Loading…
↗
7
931012206700
Oil seal (22x36x6-663)
Loading…
↗
8
689443150100
Gasket, water pump
Loading…
↗
9
9321060M1700
O-ring(6j8)
Loading…
↗
10
9310120M0700
Oil seal
Loading…
↗
11
68944316A000
Gasket, water pump
Loading…
↗
12
689W00780500
Water pump repair kit
Loading…
↗
13
626443650100
Damper, water seal 1
Loading…
↗
14
689443110300
Housing, water pump
Loading…
↗
15
9010106M5600
Bolt(jf7)
Loading…
↗
16
689W44320200
Insert cartridge comp.
Loading…
↗
17
689443230300
Outer plate, cartridge
Loading…
↗
18
689443240100
Gasket, cartridge
Loading…
↗
19
689443520200
Impeller
Loading…
↗
20
689443160000
Gasket, water pump
Loading…
↗
21
664443380000
Key, woodruff
Loading…
↗