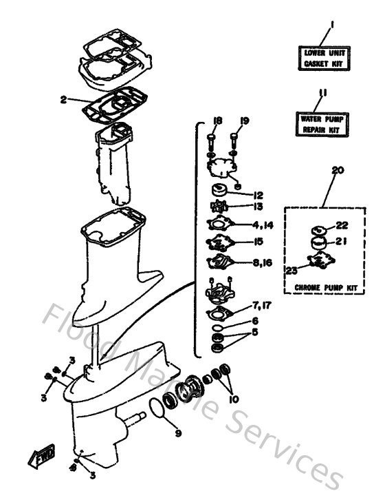
Yamaha Outboard Parts - Repair Kit 2 - 30DEO (1993) | Flood Marine

Diagram: Repair Kit 2

Diagram