Yamaha Outboard Parts - Repair Kit 2 - F4AMH (2000) | Flood Marine
New Search
Parts
New Outboards
Home
F4AMH (2000)
Repair Kit 2
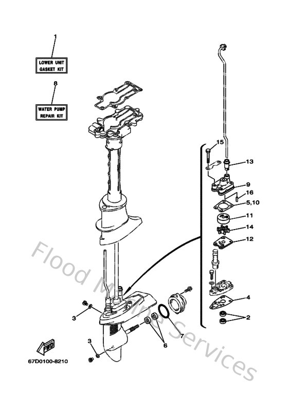
Diagram: Repair Kit 2
Parts List
Reference
Description
Price
1
6E0W0001C100
L0wer unit gasket kit
Loading…
↗
2
9310110M1400
Oil seal
Loading…
↗
3
904300802000
Gasket
Loading…
↗
4
6E045315A000
Packing,lower casing
Loading…
↗
5
6E044315A000
Gasket,water pump 1
Loading…
↗
6
9310113M1200
Oil seal
Loading…
↗
7
932104821400
O-ring
Loading…
↗
8
68DWG0780000
Water Pump Repair Kit
Loading…
↗
9
6E0443110000
Housing, water pump
Loading…
↗
11
6E0443220200
Insert, cartridge
Loading…
↗
12
6E0443230000
Outer plate, cartridge
Loading…
↗
13
6EEG43660000
Damper, water seal 2
Loading…
↗
14
6E0443520000
Impeller
Loading…
↗
15
970950604500
Bolt, hexagon
Loading…
↗
16
936041808000
Pin. dowel. (647)
Loading…
↗