Yamaha Outboard Parts - Repair Kit 2 - L130BETOL (2001) | Flood Marine
New Search
Parts
New Outboards
Home
L130BETOL (2001)
Repair Kit 2
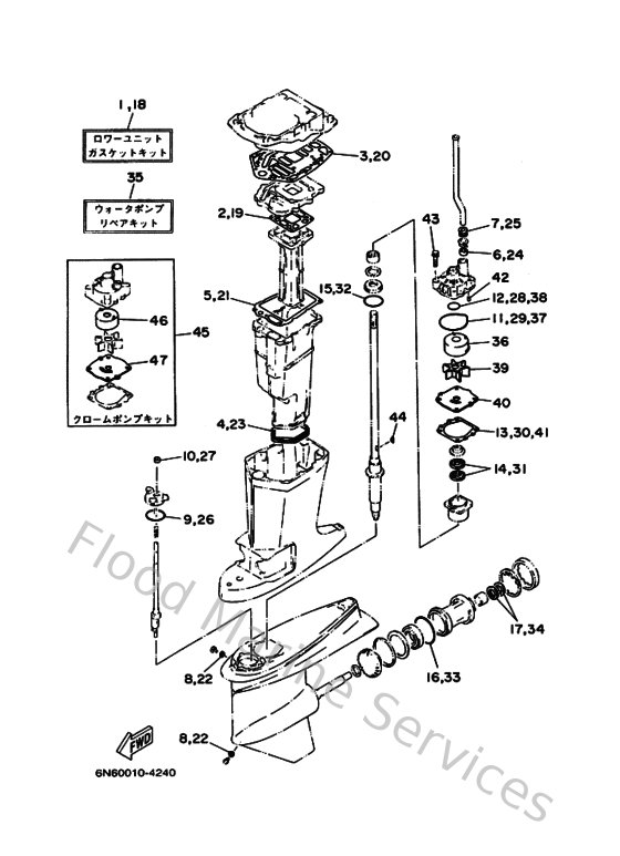
Diagram: Repair Kit 2
Parts List
Reference
Description
Price
18
6F3W0001C100
Gasket kit, lower unit
Loading…
↗
19
6G541134A000
Gasket, exhaust manifold
Loading…
↗
20
6G545114A000
Gasket, upper casing
Loading…
↗
21
6E541135A000
Gasket, exhaust manifold
Loading…
↗
22
904300802000
Gasket
Loading…
↗
23
6E5451230000
Gasket, muffler
Loading…
↗
24
6E5443650000
Damper, water seal 1
Loading…
↗
25
6E5443660000
Damper, water seal 2
Loading…
↗
26
932105814400
O-ring(47x)
Loading…
↗
27
931060901400
Oil seal
Loading…
↗
28
932103716000
O-ring (6g8)
Loading…
↗
29
9321086M3800
O-ring (6e5)
Loading…
↗
30
6E544315A000
Gasket,water pump
Loading…
↗
31
9310128M1600
Oil seal (6e5)
Loading…
↗
32
9321055M1400
O-ring (70e)
Loading…
↗
33
9321086M3900
O-ring (6e5)
Loading…
↗
34
9310130M1700
Oil seal (6e5)
Loading…
↗
35
6N6W00780200
Water pump repair kit
Loading…
↗
36
61A443220200
Insert, cartridge
Loading…
↗
39
6E5443520100
Impeller
Loading…
↗
40
6E5443230000
Outer plate, cartridge
Loading…
↗
42
936061201900
Pin, dowel (614)
Loading…
↗
43
9011908M1400
Bolt, with washer
Loading…
↗
44
9028004M0500
Key, woodruff (6e5)
Loading…
↗
45
6E5W00783A00
Chrome pump kit
Loading…
↗
46
6R3443224200
Insert, cartridge
Loading…
↗
47
6E5443234000
Outer plate, cartridge
Loading…
↗