Yamaha Outboard Parts - Repair Kit 3 - F100AET (1999) | Flood Marine
New Search
Parts
New Outboards
Home
F100AET (1999)
Repair Kit 3
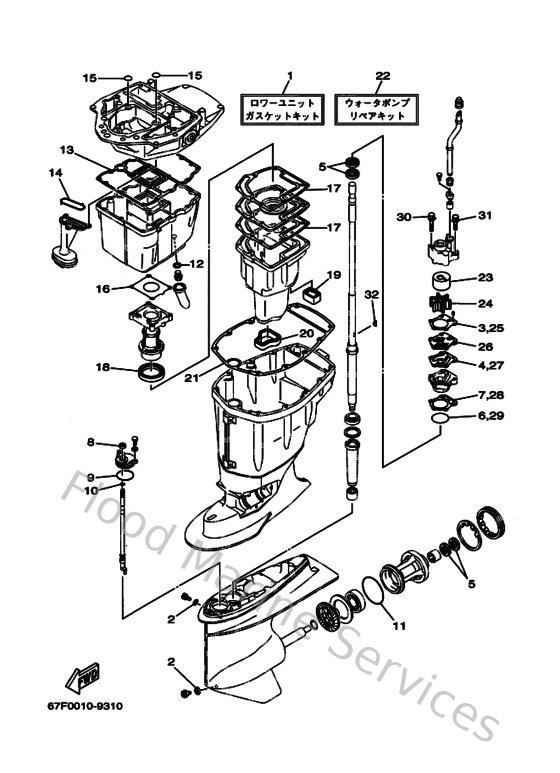
Diagram: Repair Kit 3
Parts List
Reference
Description
Price
1
67FW00012000
Lower unit gasket kit
Loading…
↗
2
904300802000
Gasket
Loading…
↗
3
68844315A000
Gasket,water pump 1
Loading…
↗
4
68844324A000
Gasket,cartridge 0uter plate
Loading…
↗
5
9310125M0300
Oil seal
Loading…
↗
6
932104604400
O-ring
Loading…
↗
7
68844316A000
Gasket,water pump 2
Loading…
↗
8
931060901400
Oil seal
Loading…
↗
9
932104904600
O-ring (620)
Loading…
↗
10
932100700300
O-ring (11m)
Loading…
↗
11
9321086M3900
O-ring (6e5)
Loading…
↗
12
9043014M0900
Gasket
Loading…
↗
13
67F153120000
Gasket, oil pan
Loading…
↗
14
67F134150000
Seal, oil strainer
Loading…
↗
15
9321019MJ100
O-ring
Loading…
↗
16
67F41133A000
Gasket, exhaust manifold 1
Loading…
↗
17
67F41134A000
Gasket, exhaust manifold
Loading…
↗
18
67F411380000
Seal, ext. 1
Loading…
↗
19
67F451270000
Seal
Loading…
↗
20
67F451230000
Gasket, muffler
Loading…
↗
21
67F451130000
Gasket, upper casing
Loading…
↗
22
67FW00780000
Water pump repair kit
Loading…
↗
23
67F443220000
Insert, cartridge
Loading…
↗
24
67F443520000
Impeller
Loading…
↗
26
67F443230000
Outer plate, cartridge
Loading…
↗
30
9011908M8700
Bolt, with washer
Loading…
↗
31
9011908M1300
Bolt, with washer(6h0)
Loading…
↗
32
9028004M0400
Key, woodruff (688)
Loading…
↗