Yamaha Outboard Parts - Starter - 30HMH (2001) | Flood Marine
New Search
Parts
New Outboards
Home
30HMH (2001)
Starter
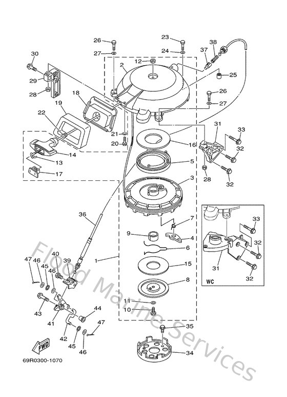
Diagram: Starter
Parts List
Reference
Description
Price
1
61NW15711100
Starter assembly
Loading…
↗
2
61N157111000
Case, starter
Loading…
↗
3
6G0157140100
Drum, sheave
Loading…
↗
4
6F5157410100
Powl, drive
Loading…
↗
5
6F5157130100
Spring, starter
Loading…
↗
6
61N157150000
Spring, drive plate
Loading…
↗
7
61N157340000
Spring, return
Loading…
↗
8
6F5157160100
Drive, plate
Loading…
↗
9
6G0157540000
Bushing 2
Loading…
↗
10
973130803000
Bolt
Loading…
↗
11
6F5157260100
Washer, lock
Loading…
↗
12
953800870000
Nut(661)
Loading…
↗
14
689157550100
Handle, starter
Loading…
↗
15
6F5157640000
Collar
Loading…
↗
16
6F5157390000
Washer, thrust 2
Loading…
↗
17
6F5157790200
Cover
Loading…
↗
18
61N15758014D
Guide, Rope
Loading…
↗
19
61N157620000
Seal, rubber 2
Loading…
↗
20
970950601600
Bolt, hexagon deep recess
Loading…
↗
21
929950660000
Washer, plain (646)
Loading…
↗
22
6A0157890000
Damper
Loading…
↗
23
970950603500
Bolt(j52)
Loading…
↗
24
929900660000
Washer, plain (646)
Loading…
↗
25
995301001400
Pin, dowel
Loading…
↗
28
953800660000
Nut(661)
Loading…
↗
29
6H7157710194
Stay 1
Loading…
↗
30
9011906MA300
Bolt, with washer
Loading…
↗
31
656157720094
Stay 2
Loading…
↗
33
901190602500
Bolt, with washer
Loading…
↗
34
6F5157230100
Pully, starter
Loading…
↗
35
9010508M1000
Bolt (6a0)
Loading…
↗
36
61T157700000
Cable comp., starter stop
Loading…
↗
37
656157480000
Plunger, starter stop
Loading…
↗
38
905011022700
Spring, comprreshion(656)
Loading…
↗
39
69P157740000
Stay 4
Loading…
↗
40
970950601000
Bolt
Loading…
↗
41
69P157460000
Arm
Loading…
↗
42
689157477000
Link
Loading…
↗
43
9011906M2300
Bolt, with washer(61r)
Loading…
↗
44
903870601300
Collar
Loading…
↗
45
902060500500
Washer, wave(656)
Loading…
↗
46
929030560000
Washer, plain (646)
Loading…
↗
47
914901601000
Pin, cotter
Loading…
↗