Yamaha Outboard Parts - Starter - 40HM (1985) | Flood Marine
New Search
Parts
New Outboards
Home
40HM (1985)
Starter
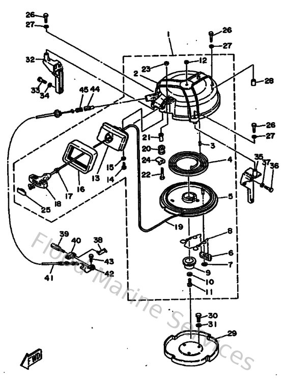
Diagram: Starter
Parts List
Reference
Description
Price
1
6H4157100094
Starter assembly
Loading…
↗
2
6H4157110094
Case, starter
Loading…
↗
3
916904001800
Pin spring(664)
Loading…
↗
4
905100800200
Spring spiral 656157130000
Loading…
↗
5
6H4157140000
Drum, sheave
Loading…
↗
6
676157410300
Pawl, drive
Loading…
↗
7
9343006M0200
Circlip (689)
Loading…
↗
8
6H4157050000
Spring drive pawl assembly
Loading…
↗
9
6H4157170000
Shaft, starter
Loading…
↗
10
902010606000
Washer, plate
Loading…
↗
11
973130602000
Bolt(7u8)
Loading…
↗
12
953800660000
Nut(661)
Loading…
↗
13
6H4157580094
Guide, Rope
Loading…
↗
14
973130601600
Bolt, hexagon deep recess
Loading…
↗
15
929030660000
Washer, plain (646)
Loading…
↗
16
6H4157620000
Seal, rubber 2
Loading…
↗
17
697157890000
Damper
Loading…
↗
18
619157550100
Handle, starter
Loading…
↗
21
9038706M6600
Collar (6h4)
Loading…
↗
22
973130603500
Bolt(3rv)
Loading…
↗
24
6H4157870100
Stay
Loading…
↗
25
689157790100
Cover
Loading…
↗
28
995101011400
Pin, dowel(3vd)
Loading…
↗
30
973130801600
Bolt, hexagon
Loading…
↗
31
929030860000
Washer, plain (663)
Loading…
↗
33
970130803000
Bolt
Loading…
↗
35
6H4157720200
Stay 2
Loading…
↗
36
973130602500
Bolt
Loading…
↗
37
929900660000
Washer, plain (646)
Loading…
↗
38
6H4157470000
Link
Loading…
↗
40
682157460000
Arm
Loading…
↗
43
973130601200
Bolt(gh1)
Loading…
↗
44
656157480000
Plunger, starter stop
Loading…
↗
45
905011022700
Spring, comprreshion(656)
Loading…
↗