Yamaha Outboard Parts - Starter - 50DEMTO (1990) | Flood Marine
New Search
Parts
New Outboards
Home
50DEMTO (1990)
Starter
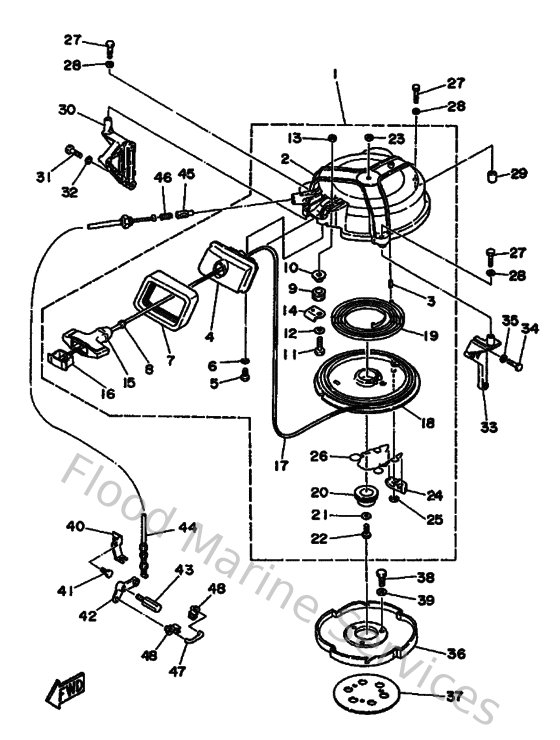
Diagram: Starter
Parts List
Reference
Description
Price
1
6H4157100294
Starter Assembly
Loading…
↗
2
6H4157110294
Case, starter
Loading…
↗
3
916904001800
Pin spring(664)
Loading…
↗
5
973950601600
Bolt, hexagon deep recess
Loading…
↗
6
929900660000
Washer, plain (646)
Loading…
↗
7
6H4157620000
Seal, rubber 2
Loading…
↗
8
6A0157890000
Damper
Loading…
↗
9
6F5157520000
Roller, wire
Loading…
↗
10
9038706M6900
Collar (688)
Loading…
↗
11
973130603000
Bolt
Loading…
↗
13
953800660000
Nut(661)
Loading…
↗
14
6H4157870100
Stay
Loading…
↗
15
689157550100
Handle, starter
Loading…
↗
16
6F5157790200
Cover
Loading…
↗
18
6H4157140000
Drum, sheave
Loading…
↗
19
905100800200
Spring spiral 656157130000
Loading…
↗
20
6H4157170000
Shaft, starter
Loading…
↗
21
90201065F300
Washer, plate
Loading…
↗
22
973130602000
Bolt(7u8)
Loading…
↗
23
953030660000
Nut(661)
Loading…
↗
24
676157410300
Pawl, drive
Loading…
↗
25
9343006M0200
Circlip (689)
Loading…
↗
26
6H4157050000
Spring drive pawl assembly
Loading…
↗
27
970130603500
Bolt(3rv)
Loading…
↗
29
995301001400
Pin, dowel
Loading…
↗
30
6H4157710194
Stay 1
Loading…
↗
31
970130803000
Bolt
Loading…
↗
32
929900860000
Washer, plain (663)
Loading…
↗
33
6H4157720294
Stay 2
Loading…
↗
34
973130602500
Bolt
Loading…
↗
36
6H4157230194
Pulley, starter
Loading…
↗
37
6J8813650000
Gasket, hole cover
Loading…
↗
38
973130802000
Bolt(6td)
Loading…
↗
41
970800601200
Bolt(gh1)
Loading…
↗
43
9010906M0400
Bolt
Loading…
↗
44
6H4157701000
Cable Comp., Starter Stop
Loading…
↗
45
656157480000
Plunger, starter stop
Loading…
↗
46
905011022700
Spring, comprreshion(656)
Loading…
↗
48
661412620200
Joint, choke lever
Loading…
↗